Foram encontradas 1.200 questões.
Os polímeros termoplásticos são materiais flexíveis que podem ser fundidos e solidificados repetidamente.
Dentre os diversos tipos de termoplásticos, têm-se os
Provas
Questão presente nas seguintes provas
A usinagem envolve operações com ferramentas de geometria definida e de geometria não definida.
São exemplos do uso desses dois tipos de ferramentas, respectivamente, as operações de
Provas
Questão presente nas seguintes provas
As peças fabricadas pelo processo de forjamento apresentam alguns defeitos típicos.
Dentre eles, destaca-se a descarbonetação, que é
Provas
Questão presente nas seguintes provas

A figura acima ilustra a disposição dos quatro cilindros de um laminador universal utilizado na fabricação de trilhos. De acordo com a figura, as rotações dos rolos
Provas
Questão presente nas seguintes provas
As figuras abaixo ilustram três dos diversos processos de usinagem.

Os processos I, II e III são denominados, respectivamente,
Provas
Questão presente nas seguintes provas
Um medidor de nível do tipo flutuador é utilizado para medir as variações no volume de óleo de um reservatório. A área de seção transversal horizontal desse reservatório é constante e tem a forma de um quadrado de dimensões 5 m por 5 m.
Uma variação de 5 cm no nível do flutuador indica uma variação no volume, em m3, de
Provas
Questão presente nas seguintes provas

As figuras I, II e III mostram, esquematicamente, luvas em corte, nas quais a hachura é utilizada para caracterizar o material do componente.
Os materiais das luvas I, II e III, respectivamente, são
Provas
Questão presente nas seguintes provas

Dois corpos de prova de materiais distintos foram ensaiados até seu limite de comportamento elástico em uma máquina de tração. Os ensaios apresentaram como resultados as curvas tensão-deformação mostradas na figura.
Com relação ao material A, o material B possui
Provas
Questão presente nas seguintes provas

A figura acima mostra a análise de tendência da falha de um componente de máquina.
As fases em que são realizados o diagnóstico, a detecção da falha e a manutenção do componente são identificadas, respectivamente, pelos números
Provas
Questão presente nas seguintes provas

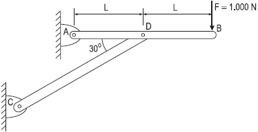
Uma estrutura é constituída de duas barras e suporta uma carga F de 1.000 N conforme indicado. A área da seção reta da barra CD é igual a 2 x 10−4 m2.
Nessas condições, a tensão normal atuante nessa barra, em MPa, vale
Provas
Questão presente nas seguintes provas
Cadernos
Caderno Container