Foram encontradas 39.300 questões.
Em um relé de quatro pinos, quais os dois terminais de comando (que fecham o circuito e fazem com que ele atraque):
Provas
No motor de partida, se ao se medir com um multímetro ou fazer a verificação com uma lâmpada de teste, de que não esteja chegando corrente à linha 50 da solenoide (automático) do motor de partida ao se acionar a ignição, qual dos problemas está ocorrendo?
Provas
As luzes de sinalização traseiras são utilizadas para indicar ações ou intenções do condutor, para que pedestres e outros condutores se orientem e saibam o que ele está fazendo ou pretende fazer, como entrar em uma determinada direção (indicadores de direção, setas), parar ou reduzir a velocidade (luz de freio), mudança de sentido para trás (luz de ré) e visibilidade (lanternas e luzes de neblina). Para que o objetivo seja atingido, ao acionar um interruptor ou comando, tais luzes devem funcionar de forma correta. Porém, há situações nas quais ao se acionar o pedal de freio, por exemplo, a luz de ré e/ou a luz de direção são acionadas, bem como podem haver outras variações, indicando o não funcionamento correto do sistema de sinalização. Com base no exposto, qual a alternativa indica o problema citado.
Provas
Diodo é um componente eletrônico composto por 02 terminais e que permite a passagem de corrente somente em uma direção, dentro de um limite de tensão. Dos componentes citados abaixo, qual se encaixa nas descrições citadas acima e é considerado um diodo.
Provas
Tem a função de tampar os cilindros, conforme se vê na figura abaixo, formando a câmara de combustão na parte superior do bloco do motor. Nele, ocorrem altas pressões por conta do pistão que comprime a mistura, no caso do ciclo Otto, ou o ar, no caso dos motores de ciclo Diesel.

Assinale a alternativa que apresenta o nome CORRETO deste componente:
Provas
É o volume total deslocado pelo pistão em seu curso entre o ponto morto inferior (PMI) e o ponto morto superior (PMS), multiplicado pelo número de cilindros do motor. É indicada em centímetros cúbicos (cm3). Esta defi nição se refere a:
Provas
Observe as figuras abaixo, elas apresentam uma ferramenta utilizada na manutenção, especificamente no aperto de parafusos:

Assinale a alternativa que apresenta o nome CORRETO desta ferramenta:
Provas
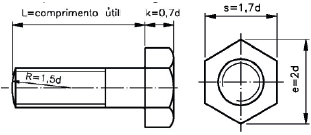
Um parafuso de um trator de esteira de rosca grossa padrão métrico feito de aço tem o seu diâmetro maior de 20,0 mm e uma marcação de cabeça de 5.8.

Analise a imagem a seguir: De acordo com a imagem este é um parafuso:
Provas
A substituição de um amortecedor que atingiu o tempo de trabalho indicado pelo fabricante, a substituição de uma lâmpada queimada, o controle semestral de um óleo lubrifi cante utilizando uma análise de óleo caracterizam, respectivamente, os processos de manutenção:
Provas
A suspenção de um veículo tem por função amortecer a transmissão de energia proveniente da irregularidade do solo, além disso, proporciona a capacidade de aderência do veículo ao solo. A inclinação da parte superior da roda interna ou externamente em relação ao veículo, conforme pode ser visto nas figuras é conhecida como?

Assinale a alternativa que apresenta corretamente o termo deste conceito:
Provas
Caderno Container