Magna Concursos

Foram encontradas 1.581 questões.

3695570 Ano: 2025
Disciplina: Engenharia Hidráulica
Banca: AMEOSC
Orgão: Pref. Santa Helena-SC
Durante a manutenção corretiva de uma rede de abastecimento de água pressurizada, uma das etapas mais críticas é a detecção de perdas não visíveis em trechos enterrados, especialmente quando não há evidência de umidade superficial. Nesses casos, emprega-se um método que analisa a variação de pressão e de ruído provocada pelo escape do fluido, permitindo localizar com precisão o ponto da perda. Essa técnica é conhecida como________.

Assinale a alternativa que corretamente completa a lacuna no excerto:
 

Provas

Questão presente nas seguintes provas
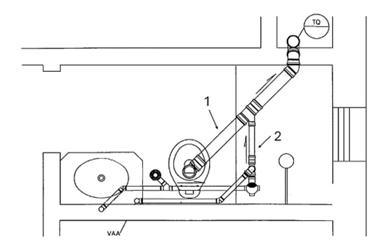
A figura a seguir apresenta parte da instalação hidrossanitária de uma edificação de um pavimento.

Enunciado 4446444-1

Desconsiderando a possibilidade de cálculo para redução de seus diâmetros, os ramais indicados com os números 1 e 2 têm diâmetro mínimo, respectivamente, de
 

Provas

Questão presente nas seguintes provas
3691431 Ano: 2025
Disciplina: Engenharia Hidráulica
Banca: FGV
Orgão: MPU
Um engenheiro foi encarregado de dimensionar um sistema de abastecimento de água completamente novo para uma cidade média da região serrana, com topografia acidentada. Essa localidade possui uma sequência contínua de edificações situadas entre as cotas 620 m e 790 m. Não existem problemas para o atendimento da pressão dinâmica mínima de 100 kPa.
Como o sistema de distribuição de água de uma área deve ser subdividido em um mínimo de zonas de pressão de mesmo desnível topográfico, no caso em tela, visando a atender uma pressão estática máxima de 500 kPa, esse número mínimo deve ser de:
 

Provas

Questão presente nas seguintes provas
3691030 Ano: 2025
Disciplina: Engenharia Hidráulica
Banca: FGV
Orgão: MPU
A Lei nº 11.445/2007 estabelece as diretrizes nacionais para o saneamento básico. Para fins do disposto nessa lei, considera-se saneamento básico como o conjunto de serviços públicos, infraestruturas e instalações operacionais de abastecimento de água potável, de esgotamento sanitário, de limpeza urbana e manejo de resíduos sólidos e de drenagem e manejo das águas pluviais urbanas.
Está entre os serviços públicos especializados de limpeza urbana e de manejo de resíduos sólidos a atividade de:
 

Provas

Questão presente nas seguintes provas
3691017 Ano: 2025
Disciplina: Engenharia Hidráulica
Banca: FGV
Orgão: MPU
O hidrante urbano é um equipamento ou componente instalado na rede de distribuição de água para o combate a incêndios. Existem quatro categorias de hidrantes (A, B, C e D). A operadora deve definir os pontos de instalação de hidrante urbano para combate a incêndio, considerando a capacidade da rede de distribuição para a região específica, seguindo os critérios da NBR 12.218/2017.
No caso de uma rede de distribuição com vazão de 360 a 1.000 L/min, diâmetro nominal menor que 150 mm e pressão dinâmica maior que 200 kPa, deve ser adotado um hidrante com as seguintes categoria e cor, respectivamente:
 

Provas

Questão presente nas seguintes provas
3691016 Ano: 2025
Disciplina: Engenharia Hidráulica
Banca: FGV
Orgão: MPU
Para o dimensionamento dos diversos componentes do sistema de abastecimento de água de uma localidade, são utilizados dados de população no horizonte do projeto, dados médios de consumo e os coeficientes de variação do consumo. Cada um desses coeficientes tem uma denominação correspondente ao valor para o qual se pretende ajustar o consumo médio.
Segundo a NBR 12.218/2017, o coeficiente k3 é conhecido por coeficiente de variabilidade:
 

Provas

Questão presente nas seguintes provas
3691015 Ano: 2025
Disciplina: Engenharia Hidráulica
Banca: FGV
Orgão: MPU
Os números adimensionais da hidráulica e da mecânica dos fluidos são utilizados para a análise de semelhança e para definir algumas características que dominam o escoamento.
O número adimensional que, assim como o número de Euler, mostra a razão entre as forças devidas à pressão e aquelas devidas à inércia do fluido, considerando, nesse caso, uma diferença de pressão (Δp) em relação à pressão de vapor do fluido à temperatura do problema, é conhecido por número de:
 

Provas

Questão presente nas seguintes provas
3691005 Ano: 2025
Disciplina: Engenharia Hidráulica
Banca: FGV
Orgão: MPU
Para minimizar os impactos das enchentes em áreas urbanas, diferentes medidas podem ser adotadas.
Uma medida não estrutural para o controle de cheias é a:
 

Provas

Questão presente nas seguintes provas
3688621 Ano: 2025
Disciplina: Engenharia Hidráulica
Banca: CESPE / CEBRASPE
Orgão: MPE-CE

Julgue o item seguinte, relativo a obras de defesa contra inundação e de macrodrenagem.

Medidas como alargamento de calhas pluviais e canalizações de cursos d’água procuram atenuar ou controlar os picos das enchentes por meio do armazenamento temporário do excesso de escoamento pluvial.

 

Provas

Questão presente nas seguintes provas
3688620 Ano: 2025
Disciplina: Engenharia Hidráulica
Banca: CESPE / CEBRASPE
Orgão: MPE-CE

A respeito de sistemas de abastecimento de água e de coleta e tratamento de esgotos, julgue o próximo item.

No cálculo das vazões de projeto das unidades a montante dos reservatórios de água tratada, bem como no dimensionamento da vazão de projeto da rede de distribuição dessa água, são utilizados, entre outros parâmetros, o coeficiente do dia de maior consumo e o coeficiente da hora de maior consumo.

 

Provas

Questão presente nas seguintes provas