Foram encontradas 680 questões.
Com o levantamento topográfico altimétrico são obtidos diversos pontos com cotas/altitudes conhecidas. Com relação à representação do relevo, é correto afirmar:
Provas
Para cada região climática existem princípios de desenho que favorecem o conforto e o desempenho dos espaços construídos. Em relação a isso, numere a coluna da direita de acordo com sua correspondência com a da esquerda.
1. Regiões tropicais de clima quente-seco sem inverno com baixas temperaturas.
2. Regiões tropicais de clima quente-úmido.
3. Regiões tropicais de clima tropical de altitude ou planaltos.
( ) Traçado compacto que proteja contra excessiva radiação diurna e atenue as perdas noturnas.
( ) Tecido urbano disperso, aberto e extenso para permitir a ventilação das formas construídas.
( ) Forma compacta com poucas superfícies expostas à radiação solar.
Assinale a alternativa que apresenta a numeração correta da coluna da direita, de cima para baixo.
Provas
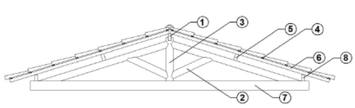
Identifique os elementos componentes da estrutura de madeira e numere a coluna da direita de acordo com o diagrama à esquerda.

( ) Pendural
( ) Caibros
( ) Cumeeira
( ) Terça
( ) Frechal
( ) Ripas
( ) Escora
( ) Linha
Assinale a alternativa que apresenta a numeração correta, de cima para baixo.
Provas
Nos jardins em sítios de topografia acidentada, é frequente a construção de terraços definidos por muros de contenção. Sobre os muros de contenção, é correto afirmar:
Provas
Numere a coluna da direita (arquiteto) de acordo com sua correspondência com a da esquerda (obra e local).
1. Naoshima Contemporary Art Museum, Japão.
2. Museu de Arte Romana, Mérida.
3. Tjibaou Cultural Center, Nova Caledônia.
4. Rolex Learning Center, Lausanne.
5. Fundação Cartier de Arte Contemporânea, Paris.
( ) Jean Nouvel.
( ) Renzo Piano.
( ) Kazuyo Sejima e Ryue Nishizawa.
( ) Rafael Moneo.
( ) Tadao Ando.
Assinale a alternativa que apresenta a numeração correta da coluna da direita, de cima para baixo.
Provas
A licitação destina-se a garantir a observância do princípio constitucional da isonomia e a selecionar a proposta mais vantajosa para a Administração e será processada e julgada em estrita conformidade com os princípios básicos da legalidade, da impessoalidade, da moralidade, da igualdade, da publicidade, da probidade administrativa, da vinculação ao instrumento convocatório, do julgamento objetivo e dos que lhe são correlatos. Tendo em vista essa definição legal, assinale a alternativa INCORRETA.
Provas
A Lei nº 9.784 disciplina o processo administrativo no âmbito da Administração Pública Federal. Com base nela, considere as seguintes afirmativas:
1. Os atos do processo administrativo não dependem de forma determinada, exceto quando prevista em lei a exigência de forma.
2. Em situações normais e na ausência de previsão legal, os atos do processo devem ser praticados em 5 dias.
3. Salvo disposição legal específica, é de 15 dias o prazo para interposição de recurso administrativo.
4. É de 20 dias o prazo para julgamento de recurso administrativo, se não houver prazo diverso fixado em lei ou regulamento.
5. É de 15 dias o prazo para emissão de parecer por órgão consultivo, que obrigatoriamente deva ser ouvido, salvo disposição em contrário.
Assinale a alternativa correta.
Provas
O servidor público comete crime contra Administração Pública quando pratica condutas definidas no Código Penal Brasileiro como crime. A respeito do assunto, identifique as afirmativas a seguir como verdadeiras (V) ou falsas (F).
( ) Há crime de peculato quando o servidor se apropria de dinheiro que estava sob sua posse em razão do cargo que ocupa.
( ) Concussão ocorre quando o servidor, usando da influência de seu posto, recebe vantagem para si ou para outrem.
( ) Prevaricação é o crime que ocorre quando o servidor deixa de responsabilizar seu subordinado que cometeu infração no exercício do cargo.
Assinale a alternativa que apresenta a sequência correta, de cima para baixo.
Provas
- Agentes PúblicosCargos, Empregos e Funções PúblicasEstabilidade e Estágio Probatório
- Agentes PúblicosRegime de Previdência dos Servidores Públicos
- Lei 8.112/1990: RJUDos Direitos e Vantagens
Leia atentamente as afirmativas a seguir e, com base na Lei 8.112, assinale a alternativa correta.
Provas
- Agentes PúblicosCargos, Empregos e Funções PúblicasAcesso
- Agentes PúblicosCargos, Empregos e Funções PúblicasFormas de Provimento
- Lei 8.112/1990: RJU
Tendo por base as disposições da Lei 8.112, identifique as afirmativas a seguir como verdadeiras (V) ou falsas (F):
( ) São requisitos básicos para investidura em cargo público, entre outros, a nacionalidade brasileira, o gozo dos direitos políticos e idade mínima de 18 anos.
( ) São formas de provimento de cargo público: nomeação, promoção, readaptação, reversão, aproveitamento, reintegração e recondução.
( ) É de 30 dias o prazo para o servidor empossado em cargo público entrar em exercício, contados da data da posse.
( ) É de 30 dias o prazo para o ato da posse, contados da publicação do ato de provimento.
( ) O prazo para que o servidor entre em exercício poderá ser prorrogado, a pedido do servidor, por período não superior a 180 dias.
Assinale a alternativa que apresenta a sequência correta, de cima para baixo.
Provas
Caderno Container