Foram encontradas 352 questões.

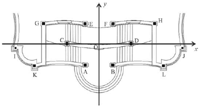
Na figura acima, extraída do texto Congonhas do Campo, de Robert C. Smith e Marcel Gautherot, um sistema de coordenadas cartesianas ortogonais xOy indica as posições das doze estátuas dos profetas esculpidas por Aleijadinho na entrada do santuário Bom Jesus de Matosinhos. As estátuas, identificadas pelas letras de A a L, estão dispostas simetricamente em relação ao eixo Oy e, na figura, também estão representados as escadarias e o adro em frente ao santuário. Na tabela a seguir, cada um dos pontos de A a L está associado à estátua de um profeta e são apresentadas as coordenadas de alguns desses pontos no plano xOy.

A partir dessas informações, desconsiderando as dimensões das esculturas e assumindo que todas estejam no mesmo plano horizontal, julgue o item a seguir.
É possível que o gráfico de uma função polinomial da forma y = f(x), de grau igual ou superior a 6, contenha todos os 12 pontos indicados na figura.
Provas
No ano de seu bicentenário, os doze profetas esculpidos em pedra-sabão por Aleijadinho, em Congonhas (MG), passaram por inédito processo de limpeza e restauração. Um dos problemas verificados nas esculturas foi a ação de liquens (associação de fungos e algas), que liberam ácidos corrosivos e cujas raízes causam pequenas fissuras nas pedras. Em 1987, as esculturas estavam quase totalmente cobertas por liquens. Foi feita uma limpeza com o antisséptico timol, mas as colônias reapareceram três anos depois. Após oito anos de estudos, o biocida escolhido para a limpeza das obras foi um derivado do ácido benzoico. As estruturas do timol, do ácido benzoico e de outro composto (composto 3) com propriedades antissépticas são apresentadas a seguir.

A partir dessas informações, julgue o item a seguir.
Nos liquens, ocorre uma relação simbiótica em que o fungo se beneficia de alimentos produzidos pelas algas ou pelas cianobactérias por meio da fotossíntese, e estas, por sua vez, beneficiam-se da proteção e da maior umidade proporcionadas pelo fungo.
Provas
No ano de seu bicentenário, os doze profetas esculpidos em pedra-sabão por Aleijadinho, em Congonhas (MG), passaram por inédito processo de limpeza e restauração. Um dos problemas verificados nas esculturas foi a ação de liquens (associação de fungos e algas), que liberam ácidos corrosivos e cujas raízes causam pequenas fissuras nas pedras. Em 1987, as esculturas estavam quase totalmente cobertas por liquens. Foi feita uma limpeza com o antisséptico timol, mas as colônias reapareceram três anos depois. Após oito anos de estudos, o biocida escolhido para a limpeza das obras foi um derivado do ácido benzoico. As estruturas do timol, do ácido benzoico e de outro composto (composto 3) com propriedades antissépticas são apresentadas a seguir.

A partir dessas informações, julgue o item a seguir.
Entre os compostos cujas estruturas estão ilustradas acima, o timol é o único que tem carbono assimétrico e, por isso, apresenta atividade ótica.
Provas
No ano de seu bicentenário, os doze profetas esculpidos em pedra-sabão por Aleijadinho, em Congonhas (MG), passaram por inédito processo de limpeza e restauração. Um dos problemas verificados nas esculturas foi a ação de liquens (associação de fungos e algas), que liberam ácidos corrosivos e cujas raízes causam pequenas fissuras nas pedras. Em 1987, as esculturas estavam quase totalmente cobertas por liquens. Foi feita uma limpeza com o antisséptico timol, mas as colônias reapareceram três anos depois. Após oito anos de estudos, o biocida escolhido para a limpeza das obras foi um derivado do ácido benzoico. As estruturas do timol, do ácido benzoico e de outro composto (composto 3) com propriedades antissépticas são apresentadas a seguir.

A partir dessas informações, julgue o item a seguir.
O ácido benzoico e o composto 3 são isômeros constitucionais.
Provas
No ano de seu bicentenário, os doze profetas esculpidos em pedra-sabão por Aleijadinho, em Congonhas (MG), passaram por inédito processo de limpeza e restauração. Um dos problemas verificados nas esculturas foi a ação de liquens (associação de fungos e algas), que liberam ácidos corrosivos e cujas raízes causam pequenas fissuras nas pedras. Em 1987, as esculturas estavam quase totalmente cobertas por liquens. Foi feita uma limpeza com o antisséptico timol, mas as colônias reapareceram três anos depois. Após oito anos de estudos, o biocida escolhido para a limpeza das obras foi um derivado do ácido benzoico. As estruturas do timol, do ácido benzoico e de outro composto (composto 3) com propriedades antissépticas são apresentadas a seguir.

A partir dessas informações, julgue o item a seguir.
A parede celular da maioria dos fungos é constituída de quitina, substância encontrada no esqueleto dos artrópodes.
Provas
No ano de seu bicentenário, os doze profetas esculpidos em pedra-sabão por Aleijadinho, em Congonhas (MG), passaram por inédito processo de limpeza e restauração. Um dos problemas verificados nas esculturas foi a ação de liquens (associação de fungos e algas), que liberam ácidos corrosivos e cujas raízes causam pequenas fissuras nas pedras. Em 1987, as esculturas estavam quase totalmente cobertas por liquens. Foi feita uma limpeza com o antisséptico timol, mas as colônias reapareceram três anos depois. Após oito anos de estudos, o biocida escolhido para a limpeza das obras foi um derivado do ácido benzoico. As estruturas do timol, do ácido benzoico e de outro composto (composto 3) com propriedades antissépticas são apresentadas a seguir.

A partir dessas informações, julgue o item a seguir.
São nomenclaturas sistemáticas para o timol e o composto 3, respectivamente: 2-isopropil-5-metilfenol e 4-hidroxibenzaldeído.
Provas
No ano de seu bicentenário, os doze profetas esculpidos em pedra-sabão por Aleijadinho, em Congonhas (MG), passaram por inédito processo de limpeza e restauração. Um dos problemas verificados nas esculturas foi a ação de liquens (associação de fungos e algas), que liberam ácidos corrosivos e cujas raízes causam pequenas fissuras nas pedras. Em 1987, as esculturas estavam quase totalmente cobertas por liquens. Foi feita uma limpeza com o antisséptico timol, mas as colônias reapareceram três anos depois. Após oito anos de estudos, o biocida escolhido para a limpeza das obras foi um derivado do ácido benzoico. As estruturas do timol, do ácido benzoico e de outro composto (composto 3) com propriedades antissépticas são apresentadas a seguir.

A partir dessas informações, julgue o item a seguir.
O aparecimento, sobre a superfície de uma rocha nua colonizada por liquens pioneiros, de musgos e de bromélias caracterizam, respectivamente, a sucessão ecológica primária e a secundária.
Provas
No ano de seu bicentenário, os doze profetas esculpidos em pedra-sabão por Aleijadinho, em Congonhas (MG), passaram por inédito processo de limpeza e restauração. Um dos problemas verificados nas esculturas foi a ação de liquens (associação de fungos e algas), que liberam ácidos corrosivos e cujas raízes causam pequenas fissuras nas pedras. Em 1987, as esculturas estavam quase totalmente cobertas por liquens. Foi feita uma limpeza com o antisséptico timol, mas as colônias reapareceram três anos depois. Após oito anos de estudos, o biocida escolhido para a limpeza das obras foi um derivado do ácido benzoico. As estruturas do timol, do ácido benzoico e de outro composto (composto 3) com propriedades antissépticas são apresentadas a seguir.

A partir dessas informações, julgue o item a seguir.
A reprodução dos fungos não é sexuada: realiza-se pela formação de esporos, fragmentação do micélio ou gemulação.
Provas
No ano de seu bicentenário, os doze profetas esculpidos em pedra-sabão por Aleijadinho, em Congonhas (MG), passaram por inédito processo de limpeza e restauração. Um dos problemas verificados nas esculturas foi a ação de liquens (associação de fungos e algas), que liberam ácidos corrosivos e cujas raízes causam pequenas fissuras nas pedras. Em 1987, as esculturas estavam quase totalmente cobertas por liquens. Foi feita uma limpeza com o antisséptico timol, mas as colônias reapareceram três anos depois. Após oito anos de estudos, o biocida escolhido para a limpeza das obras foi um derivado do ácido benzoico. As estruturas do timol, do ácido benzoico e de outro composto (composto 3) com propriedades antissépticas são apresentadas a seguir.

A partir dessas informações, julgue o item a seguir.
As algas, organismos eucarióticos fotossintetizantes que integram o reino protista, quando são multicelulares, apresentam, em sua estrutura interna, tecidos e órgãos diferenciados, similares aos dos organismos do reino Plantae.
Provas

A figura acima mostra as principais glândulas endócrinas humanas. Com relação aos hormônios liberados por essas glândulas e às funções fisiológicas desses hormônios, assinale a opção correta.
Provas
Caderno Container