Foram encontradas 170 questões.
Sobre difusão e tratamentos termoquímicos, considere as alternativas a seguir.
I → São tratamentos de superfícies aqueles em que o calor não é o agente físico principal de ativação.
II → A boretação, a sulfonetação e a galvanização por difusão são consideradas tratamentos termoquímicos de saturação com não metais por difusão.
III → Há algumas variedades de tratamentos termoquímicos de remoção de elementos químicos por meio de descarbonetação e desoxidação.
IV → A cromatização é um tipo de tratamento termoquímico de saturação com metais por difusão.
Estão corretas
Provas
Sobre a deformação em ligas metálicas, é o fenômeno de deformação , e progressiva das ligas metálicas, que ocorre à medida que a temperatura sob carga .
Assinale a alternativa que completa corretamente as lacunas.
Provas
Nas bombas de deslocamento positivo, também chamadas de bombas volumétricas, a transmissão de energia ao líquido acontece diretamente pela ação de um agente físico (êmbolo, dente de engrenagem, parafuso, lóbulo, palheta ou membrana) que provoca o deslocamento de um volume definido de líquido em direção à tubulação de recalque.
Considerando o tipo de movimento do elemento transmissor de energia das bombas de deslocamento positivo, estabeleça uma relação entre bombas na coluna à esquerda e as suas respectivas descrições na coluna à direita.
|
(1) Bomba rotativa de engrenagens |
( ) Indicada para o transporte de líquidos de viscosidade elevada não abrasivos e em temperatura até 300 ºC. |
|
(2) Bomba rotativa de parafuso |
( ) É muito empregada na aviação, para o transporte de combustível e de óleo lubrificante. |
|
(3) Bomba rotativa de lóbulo |
( ) É apropriada para o bombeamento de líquidos viscosos e produtos com sólidos em suspensão. |
|
(4) Bomba rotativa de palhetas |
( ) O rendimento dessa bomba depende fundamentalmente das perdas por fugas do líquido nas folgas e da viscosidade. |
|
( ) Bomba contra-indicada para uso com líquidos que contém substâncias abrasivas e corrosivas. |
|
|
( ) O fluxo do líquido nesse tipo de bomba não é tão constante e apresenta um ruído se comparado a outros tipos de bomba. |
|
|
( ) É muito empregada para sistemas de controle e transmissão hidráulica. |
|
|
( ) O mecanismo desse tipo de bomba provoca uma depressão ao lado de entrada, chamada de câmera de sucção da bomba. |
A alternativa correta é
Provas
Qual a potência motriz de um ventilador com uma vazão de 21600 m³/h de ar com ρar = 1,2 kg/m³, para uma elevação de 48 mmH2O?
Considere: Pm = ρ.g.Q.H ; g = 10 m/s²; ρH₂O = 1000 kg/m³.
Provas
Considere a figura a seguir.

Fonte: MARCON, E. Carta Psicrométrica. Prof. Edison Marcon. Publicado em: 16 abr. 2018. Disponível em: <http:// profedisonmarcon.blogspot.com/2018/04/calor-4-nas-postagens-anteriores.html>. Acesso em: 16 nov. 2023. (Adaptado)
A carta psicrométrica possibilita visualizar e analisar diferentes misturas de ar e de vapor d'água por meio de um gráfico com o plano cartesiano. Dessa forma, a Temperatura de Bulbo Úmido (TBU) de um determinado ambiente laboral, que apresenta TBS = 23 ºC, UR = 50 % e Var = 0,5 m/s é
Provas
Considere a imagem a seguir.

Fonte: MARQUES, P. V., MODENESI, P. J., BRACARENSE, A. Q. Soldagem: Fundamentos e Tecnologia. Belo Horizonte: Editora UFMG, 2009. (Adaptado)
As trincas são conhecidas como as descontinuidades mais graves em soldagem, podendo ser externas ou internas, ter dimensões micro ou macroscópicas e localizarem-se na Zona Fundida (ZF) ou na Zona Termicamente Afetada (ZTA).
A alternativa que identifica corretamente os tipos de trinca e suas correspondentes localizações, conforme numeração (1, 2, 3 ,4 ,5 ,6 , 7 e 8) ilustrada na figura, é
Provas
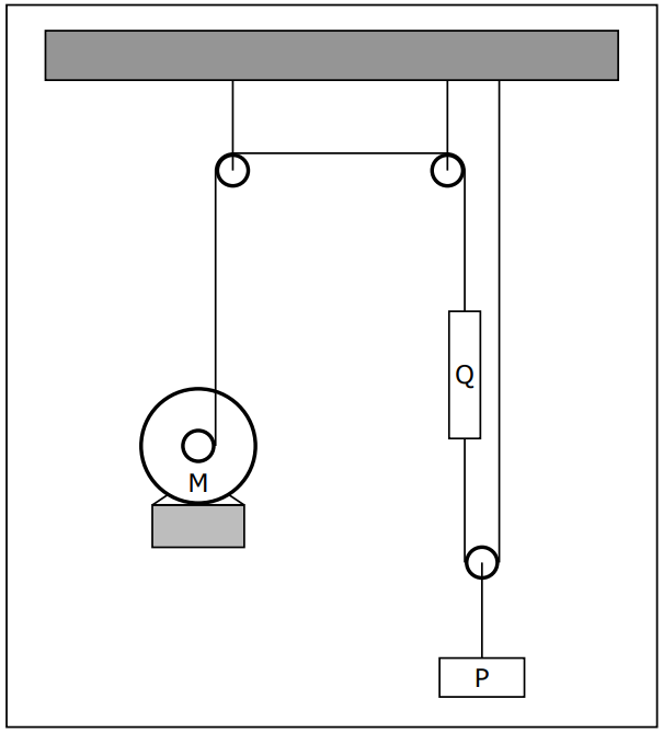
A figura a seguir ilustra um sistema de elevação por cabo das cargas P e Q, que utiliza um motor elétrico M.

Fonte: Elaborador
Considerando que a carga P tem 1000 Kg e é içada com velocidade constante de 3 m/s e que a carga Q tem 500 Kg, analise as afirmações sobre esse sistema. (Use g = 10 m/s2)
I → A velocidade da carga Q é o dobro da velocidade da carga P.
II → A potência desenvolvida pelo motor para elevar a carga P é de 60 KW.
III → A tensão máxima no cabo é de 15000 N.
Está(ão) correta(s)
Provas
Com relação à transmissão de calor, associe os métodos apresentados na coluna à esquerda com as suas respectivas descrições na coluna à direita.
|
(1) Condução |
( ) Processo pelo qual o calor é transferido entre átomos e/ou moléculas vizinhas em uma substância devido a um gradiente de temperatura. |
|
(2) Convecção |
( ) Processo pelo qual o calor é transferido de um corpo em razão de sua temperatura, sem o auxílio de qualquer meio intermediário. |
|
(3) Radiação |
( ) Processo pelo qual o calor é transferido de um lugar para outro, pelo deslocamento de meio material, através de correntes que se estabelecem no interior do meio. |
A sequência correta é
Provas
Considere o micrômetro representado na figura.

Fonte: STEFANELLI. E. Micrometro Virtual Simulador Milimetro Milesimal. Eduardo J. Stefanelli.
Disponível em: <https://www.stefanelli.eng.br/micrometro-virtual-simulador-milimetro-milesimal/>. Acesso em: 16 nov. 2023. (Adaptado)
Assinale a alternativa que corresponde à leitura da medida ilustrada.
Provas
Observe o sistema articulado representado na figura.

Fonte: Elaborador
Considerando que a barra 2 tem 5 cm de comprimento e gira com velocidade angular de 10 rad/s, no sentido anti-horário, para esta situação instantânea, a velocidade do ponto C, localizado na metade da barra 4, é
Dados: cos(30º) = !$ \dfrac{\sqrt{3}}{2} !$; sen(30º) = !$ \dfrac{1}{2} !$; cos(45º) = !$ \dfrac{\sqrt{2}}{2} !$; sen(45º) = !$ \dfrac{\sqrt{2}}{2} !$
Provas
Caderno Container