Foram encontradas 276 questões.
Propriedades dos materiais que podem influenciar na usinabilidade são:
Provas
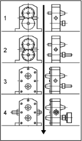
A figura a seguir mostra uma montagem peça a peça:

Alguns cuidados devem ser tomados em uma montagem peça a peça, entre os quais:
I. Limpeza e secagem de todas as peças antes da montagem do conjunto.
II. Uso de lubrificante adequado ao conjunto.
III. Sequência correta no aperto de todos os parafusos/porcas, evitando empenamentos.
IV. Verificação e ajustagem das folgas entre as engrenagens.
V.
Estão corretas apenas as afirmativas
Provas
Em um mancal de deslizamento, a escolha de um bom lubrificante depende dos seguintes fatores, exceto:
Provas
Veja a figura a seguir:

Considerando que a montagem está sobre cavalete e desconectado do restante do sistema, o profissional está:
I. Mensurando as dimensões internas de montagem.
II. Verificando a pressão interna do óleo lubrificante.
III. Medindo a temperatura interna da montagem.
IV. Executando a inspeção visual interna da montagem.
Está correto apenas o que se afirma em
Provas
Com relação às máquinas de comando numérico computadorizado (CNC), analise as seguintes afirmativas:
I. Funções modais permanecem na memória do comando, valendo para todos os blocos posteriores, a menos que sejam cancelados ou modificados por outra função.
II. Funções não modais devem ser programadas todas as vezes que forem requeridas.
III. Ponto zero da máquina (M), definido pelo programador, é o ponto zero para o sistema de coordenadas da máquina e ponto médio para todos os demais sistemas de coordenadas.
IV. Ponto de referência (R), definido pelo fabricante, serve para aferição e controle do sistema de medição dos movimentos da máquina.
V. Ponto zero da peça (W), definido pelo programador, usado por este para definir as coordenadas durante a elaboração do programa.
Estão corretas somente as afirmativas:
Provas
Sobre o projeto assistido por computador (CAD) e manufatura assistida por computador (CAM), assinale a alternativa correta:
Provas
Entre as características das máquinas com comando numérico computadorizado (CNC), assinale a correta:
Provas
Analise a figura a seguir, e responda a questão.

Supondo que o carro da figura pese 1000 kgf (F2 = - 1000 kgf), e as áreas A1 e A2 valham, respectivamente, 0,5 m2 e 1 m2, qual o valor de F1 para que o sistema fique em equilíbrio? (considere g = 10 m/s2):
Provas
Analise a figura a seguir, e responda a questão.

Analisando as pressões sobre a área A1 e A2, e denominando-as P1 e P2, respectivamente, assinale a resposta correta:
Provas
Algumas características dos sistemas pneumáticos são, exceto:
Provas
Caderno Container