Foram encontradas 709 questões.
A figura abaixo representa um esquema geral da tubulação telefônica de um edifício.

Correspondem a I, II, III, IV e V, respectivamente, a caixas de

Correspondem a I, II, III, IV e V, respectivamente, a caixas de
Provas
Questão presente nas seguintes provas
A figura representa uma situação de paisagismo urbano.

A figura
Provas
Questão presente nas seguintes provas
A figura representa o esquema de um pavimento convencional, com leito carroçável no centro e calçadas laterais para pedestres.

Correspondem a I, II, III, IV e V, respectivamente,

Correspondem a I, II, III, IV e V, respectivamente,
Provas
Questão presente nas seguintes provas
A figura abaixo representa uma instalação predial de esgoto.

Correspondem a I, II e III, respectivamente,
Provas
Questão presente nas seguintes provas
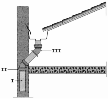
A figura abaixo representa uma instalação predial de águas pluviais.

Correspondem a I, II e III, respectivamente,
Provas
Questão presente nas seguintes provas
- Tecnologia das ConstruçõesSistemas e Elementos ConstrutivosMateriais para Construção
- Tecnologia das ConstruçõesVedações
Considere os blocos cerâmicos a partir das figuras abaixo.

A identificação correta dos blocos cerâmicos I, II, III, IV e V é, nessa ordem:
Provas
Questão presente nas seguintes provas
O gráfico abaixo representa o método de controle de processos PDCA, também conhecido como ciclo de Deming.

Identifique as etapas do Ciclo PDCA assinaladas no gráfico como 1 e 2, 3, 4, 5 e 6, respectivamente:

Identifique as etapas do Ciclo PDCA assinaladas no gráfico como 1 e 2, 3, 4, 5 e 6, respectivamente:
Provas
Questão presente nas seguintes provas
De acordo com a NBR 9050, “espaço livre de obstáculos, destinado ao uso de todas as pessoas” e “espaço sem obstáculos,
destinado a garantir manobra, deslocamento e aproximação de todas as pessoas, para utilização de mobiliário ou elemento com
autonomia e segurança” correspondem, respectivamente, às áreas
Provas
Questão presente nas seguintes provas
- Legislação e NormasNormas sobre Planejamento e Controle de Obras
- Planejamento e Controle de ObrasFiscalização
Em obras públicas, o responsável pelo acompanhamento e fiscalização de um empreendimento
Provas
Questão presente nas seguintes provas
A respeito das modalidades de licitação, a seguinte afirmação é correta:
Provas
Questão presente nas seguintes provas
Cadernos
Caderno Container