Foram encontradas 937 questões.
Provas
No sistema de dutos para ar condicionado mostrado na figura abaixo, o caminho 1-3-5-6-8 é o que apresenta maior perda de carga.

Para o dimensionamento dos dutos, o ventilador foi escolhido de modo a fornecer a vazão especificada para o caminho crítico, com o registro de balanceamento completamente aberto. Para os demais ambientes, em relação ao caminho crítico,
Provas
A carta psicrométrica da figura abaixo mostra um processo de condicionamento de ar através da linha quebrada AB num sistema zona simples.

Uma das extremidades da linha representa as condições do ar exterior, enquanto que a outra representa as condições do ar do recinto condicionado. Nesse processo,
Provas
Provas
- Saúde e Segurança no Ambiente de TrabalhoSegurança do Trabalho e Prevenção de InfortúniosIncêndioBrigadas de Incêndios e Planos de Emergência
- Saúde e Segurança no Ambiente de TrabalhoSegurança do Trabalho e Prevenção de InfortúniosIncêndioEquipamentos de Detecção e Combate a Incêndios
Provas
As figuras 1 e 2 correspondem, respectivamente, às fases inicial e final de um desenho em 2D utilizando o software do Auto CAD.

Os comandos dados, em seqüência pelo projetista, foram
Provas
As fases de obtenção de um sólido, utilizando o software do autocad, estão representadas em seqüência, nas figuras abaixo.

O comando utilizado pelo projetista na fase
Provas
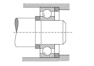
A figura abaixo mostra a extremidade de um eixo montado sobre um rolamento rígido de uma carreira de esferas.

Os anéis, colocados em ambos os lados do rolamento, têm como função
Provas
No subconjunto da figura, a relação entre as forças T1 e T2 é igual a 5.

Portanto, o valor de T1, em kgf, é
Provas
Dois motores interligados por um planetário, conforme figura abaixo, acionam um guincho de dupla velocidade.

Para o motor I freado e o motor II acionado, tem-se
Provas
Caderno Container