Foram encontradas 390 questões.

ITIL, v. 3. Internet:<www.managit.wordpress.com>.
Tendo com referência a figura acima, que ilustra as diferentes publicações e complementações do ITIL, versão 3, julgue o item, a respeito dessa versão do ITIL e do COBIT.
Os objetivos de controle do processo DS1 definir e gerenciar níveis de serviço do COBIT estão mais bem relacionados a service design que a service estrategies.
Provas

ITIL, v. 3. Internet:<www.managit.wordpress.com>.
Tendo com referência a figura acima, que ilustra as diferentes publicações e complementações do ITIL, versão 3, julgue o item, a respeito dessa versão do ITIL e do COBIT.
O processo de gerenciamento de capacidade está diretamente relacionado a service design, enquanto a função central de serviço está relacionada a service operation.
Provas
A criptografia assimétrica é uma forma de criptossistema em que a criptografia e a decriptografia são realizadas usando diferentes chaves — uma chave pública e uma chave privada. A respeito de criptografia assimétrica, julgue o item a seguir.
A figura a seguir mostra o uso da criptografia de chave pública para oferecer autenticação.

Provas

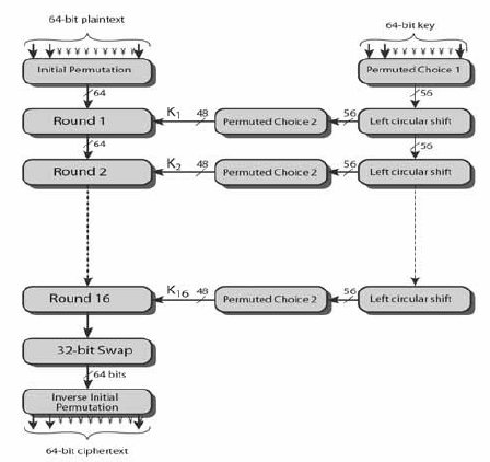
A figura acima ilustra o esquema geral para a criptografia DES (data encription standard), projetado para permitir que a decodificação seja feita com a mesma chave da codificação.
Considerando essa figura, julgue o item seguinte.
Criptoanálise diferencial e linear são tipos de ataques, porém, não podem ser utilizados no DES com 16 etapas.
Provas

A figura acima ilustra como um sistema de gerenciamento de segurança da informação (SGSI) considera as entradas de requisitos de segurança de informação e as expectativas das partes interessadas, e como as ações necessárias e os processos de segurança da informação produzidos resultam no atendimento a esses requisitos e expectativas. Considerando essa figura, julgue o item a seguir.
O gerenciamento dos riscos envolve atividades que procuram impedir um ataque antes que ele ocorra e(ou) que reduzam os efeitos de uma ameaça.
Provas
Disciplina: TI - Desenvolvimento de Sistemas
Banca: CESPE / CEBRASPE
Orgão: TRE-PR

A figura acima ilustra o denominado modelo V de processo de desenvolvimento de software. Ele é uma instância do modelo cascata genérico, em que os planos de testes devem ser derivados da especificação e do projeto de sistema. Considerando essa figura, julgue o item que se segue.
Nos testes de integração, realizados antes dos testes unitários, os componentes são construídos e testados separadamente.
Provas
Disciplina: TI - Desenvolvimento de Sistemas
Banca: CESPE / CEBRASPE
Orgão: TRE-PR
Quanto ao ambiente de desenvolvimento de aplicações para a Internet, julgue o item.
Os programas em JavaScript conferem mais funcionalidades às páginas HTML. O trecho de código a seguir é exemplo do uso de JavaScript e está sintaticamente correto.
<html>
<head>
<title>Teste de Javascript</title>
<script language="javascript">
document.write(document.title + "<br>");
</script>
</head>
<body>
em página HTML.
</body>
</html>
Provas
Disciplina: TI - Desenvolvimento de Sistemas
Banca: CESPE / CEBRASPE
Orgão: TRE-PR
Quanto ao ambiente de desenvolvimento de aplicações para a Internet, julgue o item.
Um validador XML não indicará erro, se receber o trecho de código a seguir para verificar.
<?xml version="1.0" encoding="UTF-8"?>
<DOCUMENT>
<GREETING>
Este é um arquivo XML
</GREETING>
<MESSAGE>
Bem vindo ao mundo do XML.
</MESSAGE>
</DOCUMENT>
Provas
Disciplina: TI - Desenvolvimento de Sistemas
Banca: CESPE / CEBRASPE
Orgão: TRE-PR
Um programa é um conjunto de instruções escrito em determinada linguagem que diz ao computador o que deve ser feito. Existem muitas formas e diferentes tipos de linguagens de programação, cada qual com uma finalidade específica. A respeito da linguagem Java, julgue o item.
O trecho de código apresentado a seguir ilustra a possibilidade de se utilizar a referência de uma superclasse para instanciar objetos de uma subclasse.
public class Veiculo
{
protected String modelo;
public String getModelo() {
return modelo;
}
public void setModelo(String modelo){
this.modelo = modelo;
}
}
class Moto extends Veiculo
{
private int cilindrada;
public void setCilindrada(int cilindrada)
{
this.cilindrada = cilindrada;
}
public int getCilindrada() {
return cilindrada;
}
}
class Principal
{
public static void main (String x[])
{
Veiculo cb = new Moto();
cb.setModelo("Honda");
((Moto)cb).setCilindrada(1000);
System.out.println ("O veiculo " +
cb.getModelo() + " possui " +
((Moto)cb).getCilindrada() +
"cilindrada!");
}
}
Provas
Disciplina: TI - Desenvolvimento de Sistemas
Banca: CESPE / CEBRASPE
Orgão: TRE-PR
- Fundamentos de ProgramaçãoEstruturas de DadosEstrutura de Dados: Pilha
- Fundamentos de ProgramaçãoLógica de Programação
- LinguagensJava
O raciocínio lógico leva a uma resposta que pode ser verdadeira ou falsa. Na construção de algoritmos para a solução de problemas computacionais, trabalha-se com esse tipo de raciocínio. A respeito desse assunto, julgue o item.
A classe Concurso apresentada a seguir, escrita na linguagem Java, implementa uma estrutura e operações de uma pilha.
public class Concurso {
private static class No {
Object item;
No prox;
}
private No atual;
public Concurso () {
atual = null;
}
public void metodo1 (Object x) {
No aux = atual;
atual = new No();
atual.item = x;
atual.prox = aux;
}
public Object metodo2() {
if (vazia()) return null;
Object item = atual.item;
atual = atual.prox;
return item;
}
public boolean vazia() {
return (atual == null);
}
}
Provas
Caderno Container