Foram encontradas 60 questões.
- EletromagnetismoElétricaEletrostática
- EletromagnetismoElétricaForça Elétrica, Campo Elétrico e Eletrização
Duas partículas carregadas -Q e -2Q estão separadas por uma distância 3L, de acordo com a Figura a seguir.

O campo elétrico líquido, medido no ponto B situado a uma distância L da partícula -Q, é expresso do seguinte modo:
Provas
- Mecânica ClássicaDinâmicaLeis de Newton
- Mecânica ClássicaDinâmicaEnergia Mecânica e sua Conservação
- Mecânica ClássicaDinâmicaTrabalho, Energia e Potência
- Mecânica ClássicaHidrostáticaPressão
No sistema mostrado na Figura abaixo, o coeficiente de atrito μ entre a superfície e o bloco de massa m = 500 g é igual a 0,75; a constante de rigidez da mola linear é igual a 16 kN/m; e a área do pistão do atuador é igual a 3 cm2 . Quando a pressão p é nula, a mola está indeformada.

Quando a pressão p aplicada no pistão do atuador é igual a 82,5 kPa, e a mola apresenta uma deflexão igual a 1 mm, a aceleração, em m/s2 , do bloco de massa m é igual a
Dado
g = 10 m/s2
Provas
- EletromagnetismoMagnetismoCampo e Força Magnética
- EletromagnetismoElétricaEletricidade
- EletromagnetismoElétricaEletrostática
- EletromagnetismoElétricaForça Elétrica, Campo Elétrico e Eletrização
- Mecânica ClássicaCinemáticaFundamentos da Cinemática
Uma partícula com carga q e com velocidade igual a
entra em uma região com campos elétrico e
magnético uniformes. O campo magnético é dado por
.
Desprezando-se a massa da partícula, qual deve ser o campo elétrico na região para que a partícula se desloque em movimento retilíneo uniforme?
Provas
Provas
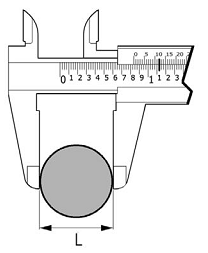
O diâmetro L, em polegadas, do cilindro é
Provas
- Mecânica ClássicaDinâmicaLeis de Newton
- Mecânica ClássicaDinâmicaMáquina de Atwood e Associação de Blocos
Considere a Figura abaixo:

No sistema de roldanas com cordas inextensíveis da Figura, a força F e o contrapeso W que mantêm o sistema em equilíbrio estático são iguais a, respectivamente,
Provas
- EletromagnetismoMagnetismoCampo e Força Magnética
- EletromagnetismoElétricaEletricidade
- EletromagnetismoElétricaEletrodinâmica
- EletromagnetismoElétricaEletrostática
- EletromagnetismoElétricaForça Elétrica, Campo Elétrico e Eletrização
Um fio retilíneo longo está situado sobre o eixo Y conforme mostra a Figura abaixo. Esse fio conduz uma corrente I, no sentido negativo do eixo (– OY).
Além do campo magnético produzido pelo fio, existe um
campo magnético uniforme no espaço dado por
.

A expressão do campo magnético total no ponto a, situado a uma distância L da origem é:
Provas
A Figura abaixo mostra um guindaste, que consiste em um trilho horizontal indeformável, que está a uma altura H, constante, do solo, por onde se desloca um carro T. Um cabo de aço inextensível sustenta a carga P. O operador do guindaste comanda tanto a velocidade horizontal do carro T quanto a velocidade de descida/subida da carga P.

Sabendo-se que a velocidade VP da carga P em relação ao trilho e a velocidade absoluta do carro VT são constantes e respectivamente iguais a 0,4 m/s e 0,3 m/s, o módulo da velocidade absoluta, em m/s, da carga P, é igual a
Provas
Provas
Um tanque aberto é preenchido com um óleo de densidade 800 kg m-3 . Em uma determinada estocagem, a pressão no fundo do tanque é igual a 3 x 105 N m-2 .
A altura do volume de óleo que preenche o tanque nessa estocagem, em metros, é igual a
Dado
Pressão atmosférica: 105 N m-2
aceleração da gravidade: 10 m s-2
Provas
Caderno Container