Magna Concursos

Foram encontradas 1.219 questões.

87261 Ano: 2006
Disciplina: Engenharia Mecânica
Banca: CESGRANRIO
Orgão: Transpetro
Provas:

Enunciado 3571249-1

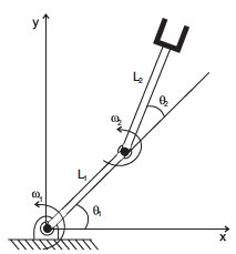
Considere o manipulador robótico com dois braços, duas juntas rotacionais com velocidades constantes !$ ( \omega_1 \,\, e \,\, \omega_2) !$ e uma garra, em uma configuração !$ (\theta_1 \,\, e \,\, \theta_2) !$ qualquer.

A velocidade linear da garra, em m/s, para L1 = 0,5 m, L2 = 1,0m, !$ \omega_1 !$ = 10 rad/s e !$ \omega_2 !$ = 10 rad/s, !$ \theta_1 !$ = 0º e !$ \theta_2 !$ = 90º é:

 

Provas

Questão presente nas seguintes provas
87260 Ano: 2006
Disciplina: Engenharia Mecânica
Banca: CESGRANRIO
Orgão: Transpetro
Provas:

Enunciado 3571248-1

Considere o manipulador robótico com dois braços, duas juntas rotacionais com velocidades constantes !$ ( \omega_1 \,\, e \,\, \omega_2) !$ e uma garra, em uma configuração !$ (\theta_1 \,\, e \,\, \theta_2) !$ qualquer.

É correto afirmar que, nesse sistema, a(s) aceleração(ões):

 

Provas

Questão presente nas seguintes provas
87259 Ano: 2006
Disciplina: Engenharia Mecânica
Banca: CESGRANRIO
Orgão: Transpetro
Provas:

A respeito da lubrificação de mancais de deslizamento, a camada de óleo que evita o atrito metal-metal é decorrente do movimento relativo entre as superfícies do eixo e do mancal.

Este movimento induz o fluxo circunferencial do óleo no interior do mancal e produz pressão suficiente para separar as duas superfícies de atrito. Esse tipo de lubrificação é denominado:

 

Provas

Questão presente nas seguintes provas
87258 Ano: 2006
Disciplina: Engenharia Mecânica
Banca: CESGRANRIO
Orgão: Transpetro
Provas:

De uma mola helicoidal, feita de arame de aço com seção circular, foram cortadas duas espiras completas. O valor da relação entre as constantes de rigidez da mola antes e após o corte das espiras, respectivamente, em função do número de espiras efetivas (N) originalmente existentes na mola é:

 

Provas

Questão presente nas seguintes provas
87257 Ano: 2006
Disciplina: Engenharia Mecânica
Banca: CESGRANRIO
Orgão: Transpetro
Provas:

O diagrama de momentos fletores atuantes em uma viga representa a(o):

 

Provas

Questão presente nas seguintes provas
87256 Ano: 2006
Disciplina: Engenharia Mecânica
Banca: CESGRANRIO
Orgão: Transpetro
Provas:

Considere o dispositivo de estampagem manual da figura abaixo.

Enunciado 3571244-1

Se o operador do dispositivo aplica uma força F = 300 N à alavanca, a força da ferramenta de estampagem sobre a chapa, expressa em newtons, vale:

 

Provas

Questão presente nas seguintes provas
87255 Ano: 2006
Disciplina: Engenharia Elétrica
Banca: CESGRANRIO
Orgão: Transpetro

O setor elétrico vem sofrendo algumas mudanças no sentido de permitir a introdução da iniciativa privada no mercado de energia elétrica e, com isso, estabelecer a competitividade.

Como conseqüência, espera-se melhorar a qualidade e diminuir os custos para o consumidor final. A medida que contribui para o estabelecimento dessa competitividade é a(o):

 

Provas

Questão presente nas seguintes provas
87254 Ano: 2006
Disciplina: Engenharia Elétrica
Banca: CESGRANRIO
Orgão: Transpetro

Energias Renováveis são aqueles recursos energéticos que não derivam de recursos minerais finitos e que têm o potencial de prover serviços energéticos com pouca ou nenhuma emissão de poluentes atmosféricos e gases de efeito estufa.

A respeito das fontes de energia renováveis, considere as seguintes afirmações:

I - a energia eólica permite a geração de energia elétrica em grande escala;

II - a energia solar não permite a geração de energia elétrica em grande escala;

III - as células de hidrogênio permitem a geração de energia elétrica em grande escala.

A(s) afirmação(ões) correta(s) é(são) apenas:

 

Provas

Questão presente nas seguintes provas
87253 Ano: 2006
Disciplina: Engenharia Elétrica
Banca: CESGRANRIO
Orgão: Transpetro

O Fator de Carga ( FC ) é a razão entre a demanda média e a demanda máxima, medida em uma instalação ou num sistema elétrico.

A respeito do FC, é correto afirmar que, quanto mais próximo da unidade:

 

Provas

Questão presente nas seguintes provas
87252 Ano: 2006
Disciplina: Engenharia Elétrica
Banca: CESGRANRIO
Orgão: Transpetro

O Brasil tem as usinas hidrelétricas como a base no fornecimento da energia elétrica. No entanto, a energia térmica vem aumentando a sua participação na geração.

Dentre as alternativas abaixo, aquela que NÃOfavoreceu esse aumento foi a(o):

 

Provas

Questão presente nas seguintes provas