Foram encontradas 1.100 questões.
Para projetar proteções solares, é necessário o conhecimento da máscara de sombra que cada tipo de brise
proporciona. Sobre essa temática, assinale a máscara de sombra correspondente ao brise vertical infinito.
Provas
Questão presente nas seguintes provas
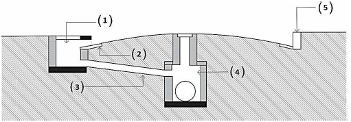
Um sistema de drenagem de águas pluviais é composto por uma série de unidades e dispositivos hidráulicos para os
quais existe uma terminologia própria. Sobre essa temática, analise a ilustração a seguir.

Assinale a alternativa que denomina corretamente os dispositivos hidráulicos numerados na ilustração.

Assinale a alternativa que denomina corretamente os dispositivos hidráulicos numerados na ilustração.
Provas
Questão presente nas seguintes provas
Qualquer terreno com declividade está exposto aos efeitos das chuvas. O alagamento ou a erosão dependerá da
natureza do solo, de sua permeabilidade, de sua inclinação e de como se encontra coberto. Sobre essa temática,
marque V para as afirmativas verdadeiras e F para as falsas.
( ) Se a declividade é pequena, o terreno alaga facilmente; se é grande, a água que o percorre adquire velocidade e produz erosão. ( ) Qualquer declividade está exposta à erosão, dependendo da natureza do material, do ângulo de inclinação e da cobertura vegetal. ( ) Quando coberto por vegetação rasteira densa e firme ou outro tipo de planta, o terreno em declive geralmente é instável. ( ) A grama pode ser um elemento vegetal importante na estabilização de encostas, na medida que dificulta a erosão do solo.
Assinale a sequência correta.
( ) Se a declividade é pequena, o terreno alaga facilmente; se é grande, a água que o percorre adquire velocidade e produz erosão. ( ) Qualquer declividade está exposta à erosão, dependendo da natureza do material, do ângulo de inclinação e da cobertura vegetal. ( ) Quando coberto por vegetação rasteira densa e firme ou outro tipo de planta, o terreno em declive geralmente é instável. ( ) A grama pode ser um elemento vegetal importante na estabilização de encostas, na medida que dificulta a erosão do solo.
Assinale a sequência correta.
Provas
Questão presente nas seguintes provas
O uso irracional dos sistemas de iluminação artificial pode causar impactos indesejáveis no meio ambiente,
como danos à flora, desorientação dos animais, além do consumo excessivo de energia. É fundamental o
conhecimento aprofundado sobre as lâmpadas e sistemas de iluminação para desenvolver projetos de
iluminação mais conscientes. A coluna de cima apresenta grandezas relacionadas à luminotécnica e a de baixo, o conceito de cada uma. Numere a coluna de baixo de acordo com a de cima.
1 - Intensidade Luminosa 2 - Fluxo Luminoso 3 - Índice de Reprodução de Cor 4 - Temperatura de Cor 5 - Iluminância
( ) Indica o fluxo luminoso de uma fonte de luz que incide sobre uma superfície situada a certa distância desta fonte. ( ) É a radiação total da fonte luminosa, entre os limites de comprimento de onda 380 nm e 780 nm. ( ) Fluxo Luminoso irradiado na direção de um determinado ponto. ( ) Descreve uma determinada fonte de luz pela comparação com a cor de um corpo negro à medida que se altera sua temperatura. ( ) Capacidade de a luz incidente reproduzir com fidelidade as cores dos objetos.
Marque a sequência correta.
1 - Intensidade Luminosa 2 - Fluxo Luminoso 3 - Índice de Reprodução de Cor 4 - Temperatura de Cor 5 - Iluminância
( ) Indica o fluxo luminoso de uma fonte de luz que incide sobre uma superfície situada a certa distância desta fonte. ( ) É a radiação total da fonte luminosa, entre os limites de comprimento de onda 380 nm e 780 nm. ( ) Fluxo Luminoso irradiado na direção de um determinado ponto. ( ) Descreve uma determinada fonte de luz pela comparação com a cor de um corpo negro à medida que se altera sua temperatura. ( ) Capacidade de a luz incidente reproduzir com fidelidade as cores dos objetos.
Marque a sequência correta.
Provas
Questão presente nas seguintes provas
O sistema formal descrito no Livro 1 do tratado de Vitrúvio está fundamentado na noção de composição realizada a
partir de elementos, podendo-se agrupar os termos da teoria em dois grandes grupos: o de princípios, que
determinam condições para excelência arquitetônica, e o de procedimentos, que auxiliam o arquiteto no controle do
projeto. A coluna de cima apresenta alguns desses princípios de composição e a de baixo a definição de cada
um. Numere a coluna de baixo de acordo com a de cima.
1 - Equilíbrio 2 - Escala 3 - Ênfase 4 - Ritmo
( ) Está associado à maneira que os elementos estão dispostos no ambiente, identificando-o como uma unidade. ( ) Pressupõe a coexistência de elementos dominantes e subordinados na composição de um interior. ( ) É um fluxo de movimento que pode ser medido ou controlado e geralmente é produzido por uma ordenação de vários elementos diferentes. ( ) Refere-se ao tamanho de uma coisa relacionada a um padrão conhecido ou a uma constante conhecida.
Marque a sequência correta.
1 - Equilíbrio 2 - Escala 3 - Ênfase 4 - Ritmo
( ) Está associado à maneira que os elementos estão dispostos no ambiente, identificando-o como uma unidade. ( ) Pressupõe a coexistência de elementos dominantes e subordinados na composição de um interior. ( ) É um fluxo de movimento que pode ser medido ou controlado e geralmente é produzido por uma ordenação de vários elementos diferentes. ( ) Refere-se ao tamanho de uma coisa relacionada a um padrão conhecido ou a uma constante conhecida.
Marque a sequência correta.
Provas
Questão presente nas seguintes provas
O vento influencia significativamente na ambiência dos espaços arquitetônicos e urbanos e, consequentemente,
na sensação térmica de seus usuários. Por meio de adequada proposta urbano-arquitetônica e paisagística, é
possível amenizar efeitos indesejáveis, visto que a vegetação permite controlar a direção e a velocidade do
vento. Sobre a temática, assinale a assertiva correta.
Provas
Questão presente nas seguintes provas
509569
Ano: 2018
Disciplina: Ética e Regulação Profissional
Banca: UFMT
Orgão: Pref. Várzea Grande-MT
Disciplina: Ética e Regulação Profissional
Banca: UFMT
Orgão: Pref. Várzea Grande-MT
Provas:
Quanto às obrigações gerais presentes no Código de Ética e Disciplina do Conselho de Arquitetura e
Urbanismo do Brasil, analise as afirmativas a seguir.
I - Estabelece como regra que o arquiteto e urbanista deve responsabilizar-se pelas tarefas ou trabalhos executados por seus auxiliares, equipes, ou sociedades profissionais que estiverem sob sua administração ou direção, e assegurar que atuem em conformidade com os melhores métodos e técnicas. II - Recomenda que o arquiteto e urbanista deve aprimorar seus conhecimentos nas áreas relevantes para a prática profissional, por meio de capacitação continuada, visando à elevação dos padrões de excelência da profissão. III - Recomenda que o arquiteto e urbanista deve declarar-se impedido de assumir responsabilidades profissionais que extrapolem os limites de suas atribuições, habilidades e competências, em seus respectivos campos de atuação. IV - Estabelece como regra que o arquiteto e urbanista deve defender o direito de crítica intelectual fundamentada sobre as artes, as ciências e as técnicas da Arquitetura e Urbanismo, colaborando para o seu aperfeiçoamento e desenvolvimento.
Está correto o que se afirma em
I - Estabelece como regra que o arquiteto e urbanista deve responsabilizar-se pelas tarefas ou trabalhos executados por seus auxiliares, equipes, ou sociedades profissionais que estiverem sob sua administração ou direção, e assegurar que atuem em conformidade com os melhores métodos e técnicas. II - Recomenda que o arquiteto e urbanista deve aprimorar seus conhecimentos nas áreas relevantes para a prática profissional, por meio de capacitação continuada, visando à elevação dos padrões de excelência da profissão. III - Recomenda que o arquiteto e urbanista deve declarar-se impedido de assumir responsabilidades profissionais que extrapolem os limites de suas atribuições, habilidades e competências, em seus respectivos campos de atuação. IV - Estabelece como regra que o arquiteto e urbanista deve defender o direito de crítica intelectual fundamentada sobre as artes, as ciências e as técnicas da Arquitetura e Urbanismo, colaborando para o seu aperfeiçoamento e desenvolvimento.
Está correto o que se afirma em
Provas
Questão presente nas seguintes provas
O telhado compõe-se da estrutura, cobertura e dos condutores de águas pluviais. O elemento definido como a
aresta inclinada delimitada pelo encontro entre duas águas que formam um ângulo reentrante e tem a função de
captar águas é:
Provas
Questão presente nas seguintes provas
A NBR 8403/84 - Aplicação de linhas em desenhos – Tipos de linhas – Larguras das linhas – fixa tipos e o
escalonamento de larguras de linhas para uso em desenhos técnicos e documentos semelhantes. A coluna de cima apresenta a denominação da linha e a de baixo, a aplicação geral de cada uma. Numere a coluna de baixo de acordo com a de cima.
1 - Contínua larga 2 - Contínua estreita 3 - Traço e ponto estreita 4 - Tracejada larga
( ) Linhas de centro ( ) Contornos não visíveis ( ) Arestas visíveis ( ) Hachuras
Marque a sequência correta.
1 - Contínua larga 2 - Contínua estreita 3 - Traço e ponto estreita 4 - Tracejada larga
( ) Linhas de centro ( ) Contornos não visíveis ( ) Arestas visíveis ( ) Hachuras
Marque a sequência correta.
Provas
Questão presente nas seguintes provas
Em um terreno com dimensões de 12 m × 30 m, foi construída uma edificação com 4 pavimentos de 180 m²
cada. Qual o coeficiente de ocupação desse edifício?
Provas
Questão presente nas seguintes provas
Cadernos
Caderno Container