Foram encontradas 710 questões.
Disciplina: Segurança Privada e Transportes
Banca: OBJETIVA
Orgão: Pref. Santa Leopoldina-ES
A área de guarda sob a responsabilidade do vigilante compreende diferentes aspectos do imóvel que está sendo monitorado. Essa abrangência inclui não apenas o controle de acessos, mas também a vigilância das instalações e das áreas circundantes. Sobre a área de guarda, assinalar a alternativa CORRETA.
Provas
Disciplina: Segurança e Saúde no Trabalho (SST)
Banca: OBJETIVA
Orgão: Pref. Santa Leopoldina-ES
Sobre as medidas de prevenção em caso de incêndios, analisar os itens.
I. As aberturas, saídas e vias de passagem devem ser mantidas desobstruídas.
II. As saídas de emergência devem ser trancadas à chave ou presas durante a jornada de trabalho.
Está CORRETO o que se afirma:
Provas
Disciplina: Administração de Recursos Materiais
Banca: OBJETIVA
Orgão: Pref. Santa Leopoldina-ES
Provas
Disciplina: Administração de Recursos Materiais
Banca: OBJETIVA
Orgão: Pref. Santa Leopoldina-ES
Provas
Disciplina: Serviços Gerais
Banca: OBJETIVA
Orgão: Pref. Santa Leopoldina-ES
Assinalar a alternativa que apresenta uma aplicação inadequada para a serra policorte.
Provas
Disciplina: Serviços Gerais
Banca: OBJETIVA
Orgão: Pref. Santa Leopoldina-ES
Sobre o jateamento de granalha, assinalar a alternativa INCORRETA.
Provas
Disciplina: Serviços Gerais
Banca: OBJETIVA
Orgão: Pref. Santa Leopoldina-ES
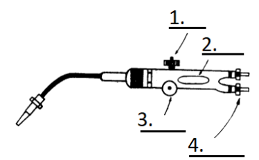
A imagem abaixo mostra uma máquina de soldar, com suas partes numeradas de 1 a 4. Com base nisso, assinalar a alternativa que apresenta, respectivamente, os nomes dessas partes.

Provas
Disciplina: Serviços Gerais
Banca: OBJETIVA
Orgão: Pref. Santa Leopoldina-ES
Os processos de solda MIG (Metal Inert Gas) e MAG (Metal Active Gas) utilizam o arco elétrico como fonte de calor entre a peça e o arame (consumível). O arame é fornecido por um alimentador contínuo, e o arco elétrico funde o arame na medida em que este alimenta a poça de fusão. Uma das vantagens da utilização da solda MIG é:
Provas
Disciplina: Serviços Gerais
Banca: OBJETIVA
Orgão: Pref. Santa Leopoldina-ES
Qual dos defeitos de soldagem a seguir está associado à presença de gases como oxigênio, nitrogênio ou dióxido de carbono no arco de soldagem?
Provas
Disciplina: Serviços Gerais
Banca: OBJETIVA
Orgão: Pref. Santa Leopoldina-ES
As condições de aplicação de tintas são importantes, pois podem afetar o seu desempenho, devendo ser respeitadas pelo pintor. São elas:
I. Temperatura da tinta.
II. Temperatura do ambiente.
III. Temperatura da superfície.
Está CORRETO o que se afirma:
Provas
Caderno Container