Foram encontradas 203 questões.
As obras sem estrutura e com estrutura de contenção para a estabilização de encostas naturais e de taludes artificiais, respectivamente, são:
Provas
Um funcionário da Prefeitura Municipal da Cidade do Rio de Janeiro está digitando um texto no ambiente Word, na versão em português. Em dado momento, aciona a tecla de atalho< Ctrl >
Provas
Um micromputador da linha CISC possui 512 MBytes de memória, que apresenta a volatilidade como característica, o que significa dizer que o conteúdo armazenado é totalmente perdido quando cessa a alimentação elétrica. Esta memória é conhecida como:
Provas

Sendo A e a as áreas das tubulações, onde o valor de A é o dobro de a, a razão entre as vazões volumétricas em A e a é igual a:
Provas

Sendo A e a as áreas dos dois êmbolos, atuados pelas forças F e f, respectivamente, e sabendo-se que o valor de A é o triplo de a, no equilíbrio, a relação entre as forças é:
Provas
Responda à questão de número 47 após a análise do quadro abaixo, que mostra as informações sobre o processo que uma bomba realiza para transferir água de uma cisterna que se encontra a 2,0 m abaixo do nível da bomba. A vazão da água durante o processo de transferência é de 0,350 m3/s.

No que tange à cavitação e ao valor da perda de carga por sucção disponível, a operação da bomba é:
Provas
Um parafuso de potência, de rosca quadrada, tem o diâmetro maior (dM ) igual a 36,0 mm, possui dupla entrada e um avanço em uma volta completa é de 1 = 12,0 mm. Nestas condições, o diâmetro médio ou primitivo e o passo do parafuso, em milímetros, são, respectivamente, iguais a:
Provas
Responda à questão de número 45 após observar a figura abaixo, que representa uma estrutura em que foi executada uma operação de soldagem.

O símbolo de soldagem, padronizado pela AWS - American Welding Society, que representa o tipo de solda usada na figura é:
Provas
Experimentos mostram que dois grupos de rolamentos idênticos, testados sob diferentes forças, F1 e F2, têm respectivamente vidas L1 e L2, de acordo com a relação (L1 / L2) = (F2 / F1)a, onde:
L = vida do rolamento em milhões de rotações ou horas a uma determinada velocidade de rotação;
a = 3, para rolamentos de esferas ou a = 10/3, para rolamentos de rolos.
A Companhia XYZ, fabricante de rolamentos, apresenta um catálogo no qual são fornecidas as cargas radiais resistentes (FR), calculadas para uma vida de 1200 horas quando submetidos à rotação de 600 rpm. Um rolamento de esferas sob uma carga de projeto (FD) igual a 4,0 kN, submetido a uma rotação de 960 rpm, e cuja vida deverá ser de 6000 horas, terá um valor de carga radial resistente (FR), em kN, selecionado no catálogo da Companhia XYZ igual a:
Provas
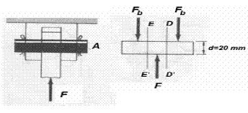
Responda à questão de número 43 após a análise da figura abaixo, que representa uma seção de uma barra conectada a uma base através de um rebite.

Sabendo que o diâmetro do rebite é de 20 mm e a tensão de cisalhamento média, em MPa, no rebite é de 160 / p, a máxima força F , em kN, que pode ser aplicada na barra é de:
Provas
Caderno Container