Foram encontradas 50 questões.
No programa Autocad (da Autodesk), o comando Pedit é relacionado a:
Provas
No programa Autocad (da Autodesk), durante a configuração de uma escala de viewport de um desenho cuja unidade está definida em metros, para se obter o resultado de visualização de 1:50, indica-se:
Provas
No programa Word (da Microsoft Office), o atalho de teclado para criar um recuo deslocado é o:
Provas
Disciplina: Segurança e Saúde no Trabalho (SST)
Banca: SELECON
Orgão: Pref. Primavera Leste-MT
De acordo com a ABNT NBR 9050/2021, a sinalização indicando o andar do pavimento deve estar localizada nos dois batentes externos, instalada a uma altura do piso, cuja medida deve estar entre:
Provas
Disciplina: Segurança e Saúde no Trabalho (SST)
Banca: SELECON
Orgão: Pref. Primavera Leste-MT
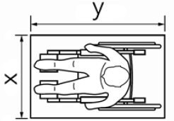
Observe a imagem a seguir, referente a um módulo de referência indicado na ABNT NBR 9050/2021.

Fonte: ABNT NBR 9050 (2021), editado.
As medidas [x] e [y] são, respectivamente:
Provas
Disciplina: Direito Urbanístico
Banca: SELECON
Orgão: Pref. Primavera Leste-MT
De acordo com a Lei Municipal nº 499/1998, que dispõe sobre o Código de Obras do município de Primavera do Leste, MT, os atos administrativos para fins de licenciamento incluem, no ato de apresentação do Projeto Definitivo, um conjunto de peças gráficas referente ao Projeto Arquitetônico, que inclui, entre outros:
Provas
Disciplina: Direito Urbanístico
Banca: SELECON
Orgão: Pref. Primavera Leste-MT
De acordo com a Lei Municipal nº 1656/2016, que trata da Revisão do Plano Diretor Participativo do município de Primavera do Leste, MT, nos termos do zoneamento urbano vigente, a ZC1 (Zona Comercial 1) possui um Coeficiente de Aproveitamento Básico (CAB) igual a 3,0 e um Coeficiente de Aproveitamento Máximo (CAM) igual a 4,0. Nesse caso, um prédio existente com 584 m2 de área edificada situado em um lote de 200 m² está utilizando:
Provas
Observe a imagem a seguir, que ilustra uma instalação sanitária predial em perfil:

Fonte: CREDER, Hélio (2014), editado.
Os elementos indicados em [a], [b] e [c] referem-se, respectivamente, a:
Provas
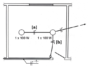
Observe a imagem a seguir, referente a uma instalação elétrica em planta baixa:

Fonte: NISKIER, Julio; MACINTYRE, Archibald Joseph (2014), editado.
Os condutores indicados em [a] e [b] são, respectivamente:
Provas
Observe a imagem abaixo, que simula um revestimento cerâmico assentado sobre estrutura de concreto e alvenaria:

Fonte: CAMPANTE, Edmilson; BAÍA, Luciana (2008), editado.
Os elementos indicados em [1], [2], [3] e [4] referem-se, respectivamente, a:
Provas
Caderno Container