Foram encontradas 30 questões.
Disciplina: Segurança e Saúde no Trabalho (SST)
Banca: VUNESP
Orgão: Pref. Pindamonhangaba-SP
O Equipamento de Proteção Coletiva (EPC) é empregado
Provas
Disciplina: Segurança e Saúde no Trabalho (SST)
Banca: VUNESP
Orgão: Pref. Pindamonhangaba-SP
Observe as imagens e assinale a alternativa que identifica, correta e respectivamente, os equipamentos apresentados.

(Arquivo pessoal)
Provas
Disciplina: Engenharia Mecânica
Banca: VUNESP
Orgão: Pref. Pindamonhangaba-SP
Observe a imagem e assinale a alternativa que identifica, correta e respectivamente, as partes que compõem a esquadria.

(https://edisciplinas.usp.br/pluginfile.php/5075685/mod_ resource/content/1/Apostila_esquadrias.pdf)
Provas
Disciplina: Engenharia Mecânica
Banca: VUNESP
Orgão: Pref. Pindamonhangaba-SP
Um mandril de uma furadeira de ¾” corresponde a
Provas
Disciplina: Engenharia Mecânica
Banca: VUNESP
Orgão: Pref. Pindamonhangaba-SP
É possível soldar ferro fundido?
Provas
Disciplina: Engenharia Mecânica
Banca: VUNESP
Orgão: Pref. Pindamonhangaba-SP
É um dos instrumentos utilizados na operação de traçagem pelo serralheiro. É fabricado em aço temperado, composto por duas hastes articuladas, as quais são unidas por um ponto, e por isso seu formato assemelha-se a uma pinça. Esta ferramenta é conhecida como
Provas
Disciplina: Engenharia Mecânica
Banca: VUNESP
Orgão: Pref. Pindamonhangaba-SP
Observe a imagem.

(https://pt.wikipedia.org/wiki/Rebite)
O rebite é um fixador mecânico metálico, semipermanente. Consiste em um cilindro com uma cabeça em uma das extremidades. Assinale a alternativa que identifica o tipo de rebite apresentado.
Provas
Disciplina: Engenharia Mecânica
Banca: VUNESP
Orgão: Pref. Pindamonhangaba-SP
A diferença entre solda MIG/MAG e a solda elétrica com eletrodo revestido é:
Provas
Disciplina: Engenharia Mecânica
Banca: VUNESP
Orgão: Pref. Pindamonhangaba-SP
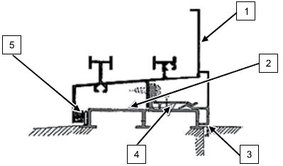
Na atividade diária, o serralheiro executa várias uniões de metais; observe o desenho e assinale a alternativa que indica o processo de soldagem apresentado.

(http://www.elbras.com.br/brh4r/documentos/ inftecnicas/tcc-rafael-rolemberg.pdf)
Provas
Disciplina: Engenharia Mecânica
Banca: VUNESP
Orgão: Pref. Pindamonhangaba-SP
Observe as imagens de ferramentas que o serralheiro utiliza durante os trabalhos na oficina e assinale a alternativa que as identifique, correta e respectivamente.

(Arquivo pessoal)
Provas
Caderno Container