Foram encontradas 40 questões.
Disciplina: Engenharia Civil
Banca: VUNESP
Orgão: Pref. Pindamonhangaba-SP
Na execução de coberturas de edificações com telhas cerâmicas tipo francesa, a cumeeira deve ser executada, de preferência, com peças de material cerâmico, especialmente projetadas para esse fim. O recobrimento entre a cumeeira e a telha deve ser de, no mínimo,
Provas
Disciplina: Engenharia Civil
Banca: VUNESP
Orgão: Pref. Pindamonhangaba-SP
Nas paredes das edificações executadas com alvenaria, sem função estrutural, de tijolos de barro ou blocos cerâmicos, devem ser moldadas ou colocadas vergas sobre os vãos das janelas ou caixilhos diversos. As vergas devem exceder a largura do vão, de cada lado, pelo menos,
Provas
Disciplina: Engenharia Civil
Banca: VUNESP
Orgão: Pref. Pindamonhangaba-SP
É prerrogativa do fiscal de obras:
Provas
Em uma planta baixa de arquitetura foi desenhada uma edificação na escala 1:50. Na planta, as medidas do desenho de uma sala de estar retangular são 10 cm por 16 cm. A área real dessa sala é
Provas
Nas instalações usuais de rede de distribuição de água para abastecimento público, a pressão estática máxima permitida nas tubulações distribuidoras em regiões com topografia acidentada é
Provas
Na elaboração de projeto hidráulico-sanitário de redes coletoras públicas de esgoto sanitário, funcionando em lâmina livre, a máxima declividade admissível é aquela para a qual se tenha a velocidade final de
Provas
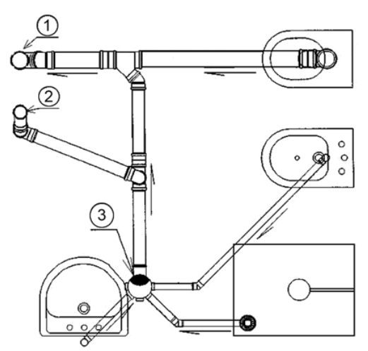
A figura a seguir representa as instalações de esgoto sanitário de um banheiro.

Os itens da instalação numerados de 1, 2 e 3, são, respectivamente,
Provas
Disciplina: Legislação Municipal
Banca: VUNESP
Orgão: Pref. Pindamonhangaba-SP
No Município de Pindamonhangaba é permitida a implantação de condomínio residencial horizontal nas zonas mistas (ZM) e zonas predominantemente residenciais (ZPR). O Habite-se desses condomínios somente poderá ser emitido após a conclusão da construção de unidades habitacionais projetadas, em percentual mínimo de
Provas
Disciplina: Legislação Municipal
Banca: VUNESP
Orgão: Pref. Pindamonhangaba-SP
No Município de Pindamonhangaba, exceto nos corredores comerciais, na Zona Predominantemente Residencial, o número máximo de pavimentos das edificações e a sua altura máxima são, respectivamente,
Provas
Disciplina: Legislação Municipal
Banca: VUNESP
Orgão: Pref. Pindamonhangaba-SP
No Município de Pindamonhangaba, o beiral das edificações não será considerado no cálculo de área construída, desde que a sua projeção máxima da parede seja de
Provas
Caderno Container