Foram encontradas 2.369 questões.
As opções a seguir são unidades de medidas de comprimento, à exceção de uma. Assinale-a.
Provas
Questão presente nas seguintes provas
Considere o conjunto dos números naturais,
ℕ={1,2,3,4,5,6,…}.
A soma de uma quantidade par de números ímpares:
ℕ={1,2,3,4,5,6,…}.
A soma de uma quantidade par de números ímpares:
Provas
Questão presente nas seguintes provas
Sabendo que 40 x 29 = 1160, os resultados de 41 x 29 e de 39 x 29 são, respectivamente,
Provas
Questão presente nas seguintes provas
O conjunto vazio é corretamente representado pelo seguinte símbolo:
Provas
Questão presente nas seguintes provas
- FundamentosRazão e Proporção
- GeometriaGeometria PlanaTriângulos
- GeometriaGeometria PlanaQuadriláteros
- GeometriaGeometria PlanaÁreas e Perímetros
Em um retângulo ABCD, P é um ponto sobre o lado AB, entre os pontos A e B.
A razão entre as áreas do triângulo PCD e do retângulo ABCD é
A razão entre as áreas do triângulo PCD e do retângulo ABCD é
Provas
Questão presente nas seguintes provas
O uniforme dos vigilantes de determinada empresa é composto de uma vestimenta superior, uma vestimenta inferior e um chapéu. Suponha que estejam disponíveis m peças diferentes de vestimenta superior, n peças distintas de vestimenta inferior e p chapéus diferentes, sendo m, n e p números naturais.
Assinale a expressão que apresenta a quantidade de formas diferentes que um vigilante pode compor seu uniforme.
Assinale a expressão que apresenta a quantidade de formas diferentes que um vigilante pode compor seu uniforme.
Provas
Questão presente nas seguintes provas
Um terreno retangular, representado na figura a seguir em uma planta baixa, precisa ser cercado por uma tela. As medidas das dimensões do terreno estão registradas na figura.

Sabe-se que a tela é vendida a cada metro, sem subdivisão. Dessa forma, o comprimento mínimo da tela, em metros, que deve ser comprada para cercar todo o terreno, é:

Sabe-se que a tela é vendida a cada metro, sem subdivisão. Dessa forma, o comprimento mínimo da tela, em metros, que deve ser comprada para cercar todo o terreno, é:
Provas
Questão presente nas seguintes provas
Libra (lb) é uma unidade de medida de massa utilizada no sistema inglês. Sabe-se que 1 quilograma (kg) é equivalente a aproximadamente 2,205 libras (lb).
Com isso, 700 gramas (g) é equivalente a, aproximadamente,
Com isso, 700 gramas (g) é equivalente a, aproximadamente,
Provas
Questão presente nas seguintes provas
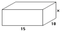
A figura a seguir apresenta uma caixa no formato de um paralelepípedo com as medidas de suas dimensões registradas.

Assinale a opção que apresenta a expressão algébrica referente à área da superfície de toda a caixa.

Assinale a opção que apresenta a expressão algébrica referente à área da superfície de toda a caixa.
Provas
Questão presente nas seguintes provas
Em uma distribuidora de bebidas, certa quantidade de latas de refrigerantes foi embalada em 35 pacotes, chamados packs, colocando-se 12 latas em cada pacote.
Se fosse possível colocar 15 latas em cada pacote, o número de pacotes necessários para embalar a mesma quantidade de latas seria igual a
Se fosse possível colocar 15 latas em cada pacote, o número de pacotes necessários para embalar a mesma quantidade de latas seria igual a
Provas
Questão presente nas seguintes provas
Cadernos
Caderno Container