Foram encontradas 40 questões.
Em arquitetura, a parte superior e mais larga de um pilar ou coluna é denominada como:
Provas
Em uma instalação elétrica residencial de baixa tensão, nas tomadas de uso geral e nas lâmpadas são conectados respectivamente quais tipos de condutores?
Provas
Em arquitetura, as construções que utilizam elementos que causam menor impacto ao meio ambiente tem tido destaque nos últimos anos. Sobre este assunto, pode-se definir tijolos Adobe como sendo:
Provas
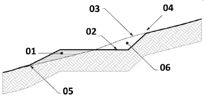
A figura a seguir ilustra uma seção em corte de um terreno, muito comum em projetos arquitetônicos:

Pode-se afirmar que os itens da figura numerados como 02, 05 e 06, denominam-se como:
Provas
Assinale a alternativa que NÃO APRESENTA uma das funções do Fiscal de obras e posturas.
Provas
Uma viga em concreto armado possui 10 metros de comprimento e 20 cm de largura. Sabendo que a altura da viga tem uma variação constante que inicia em 40 cm e termina em 60 cm e desconsiderando os volumes de armadura e eventuais perdas de material durante a concretagem, pode-se afirmar que o volume de concreto necessário para preencher a viga é igual a:
Provas
Assinale a alternativa correta sobre a primeira camada de um revestimento argamassado de paredes externas tradicionalmente composto por três camadas.
Provas
Um lavabo retangular com medidas internas, em planta, iguais a 2,00 e 1,50 m será revestido de azulejos até uma altura de 2,50 m. Sabendo que o lavabo possui uma porta de 0,70 x 2,10 m e uma janela de 0,60 x 0,80 m. Qual será a área, em m², de azulejos necessária para revestir todas as paredes internas do lavabo, descontando-se a área das esquadrias e não acrescentando perdas?
Provas
Em fundações, quando dois pilares se apoiam na mesma sapata, esta sapata recebe o nome de:
Provas
Assinale a alternativa que apresenta o elemento de fundação rasa de concreto que não necessita de armadura.
Provas
Caderno Container