Foram encontradas 735 questões.
Disciplina: Comunicação Social
Banca: IBADE
Orgão: Pref. Barra São Francisco-ES
A partir da metade do Séc. XX, com a ampliação da abrangência dos meios de comunicação de massa, a popularização da informática e o advento da internet fora dos ambientes estatais, houve uma radical mudança na base da comunicação integrada das organizações. Pinheiro & Gullo (2008), quando tratam sobre Comunicação Integrada de Marketing (CIM) nesses novos tempos, propõem as cinco estratégias descritas nas opções das respostas. No entanto, por ser uma obra anterior ao boom das novas redes sociais eletrônicas, uma dessas estratégias já não deve ser aplicada, dado as características desses novos meios de comunicação.
Portanto, leia as estratégias abaixo e assinale aquela que NÃO se encaixa mais como aplicável, após a necessidade de se colocar o contexto das redes sociais digitais no ambiente de comunicação integrada.
Provas
Disciplina: Comunicação Social
Banca: IBADE
Orgão: Pref. Barra São Francisco-ES
O jornalismo cultural foi reconfigurado após a ascensão da internet. Se antes, as fontes de informação eram os próprios artistas, ou staff dele, e seu espaço era praticamente restrito aos seus ambientes clássicos de exposição (atores/teatro/TV; artistas plásticos/galerias; cantores/rádio/disco), agora há diversos aspectos que necessitam da atenção da produção jornalística.
Leia esses possíveis aspectos:
I – novos intermediários culturais.
II – ascensão da figura do curador.
III – museus como espaços tradicionais.
IV – função aceleradora das mídias.
Assinale a opção com as afirmativas corretas.
Provas
Disciplina: Comunicação Social
Banca: IBADE
Orgão: Pref. Barra São Francisco-ES
Antes da Internet, um jargão/clichê que ilustrava a diferença entre os principais veículos de comunicação de massa, dizia que “o rádio diz, a televisão mostra e o jornal explica”. A internet, ao trazer a novidade do webjornalismo, parece alterar essa lógica.
Leia as afirmações abaixo.
I – O webjornalismo incorpora as características dos veículos que o precedem, como vídeo, áudio e escrita,
MAS
II – não cria uma linguagem própria, uma vez que dá continuidade às características dos veículos que lhe inspiram.
Assinale a opção correta.
Provas
Disciplina: Comunicação Social
Banca: IBADE
Orgão: Pref. Barra São Francisco-ES

Relembre, com a imagem acima, a interface de edição não linear.
Agora assinale a descrição correta do módulo correspondente.
Provas
Disciplina: Comunicação Social
Banca: IBADE
Orgão: Pref. Barra São Francisco-ES

O diretor da gravação no estúdio não está gostando da luz. Gostaria de ter mais luz de preenchimento principal (o preenchimento de apoio está ok), ao mesmo tempo que amplia também a contraluz. Marque a opção que indica em quais refletores deve-se mexer.
Provas
Disciplina: Comunicação Social
Banca: IBADE
Orgão: Pref. Barra São Francisco-ES
O inexperiente diretor de imagem se esqueceu das principais sensações que os ângulos ao lado provocam no espectador. O técnico radialista vai dar uma força e lembrá-lo qual o enquadramento, o ângulo, que melhor poderá atender o objetivo da direção.

Assinale a opção correta.
Provas
Disciplina: Comunicação Social
Banca: IBADE
Orgão: Pref. Barra São Francisco-ES
- Linguagens e Suportes MidiáticosProdução AudiovisualTeorias, Conceitos e Terminologia de Audiovisual e Cinema
Somos seres audiovisuais, mas em uma sociedade fascinada pelas imagens, às vezes nos esquecemos o quanto o áudio faz parte dessa expressão. O áudio, no entanto, cumpre funções importantes em qualquer produção.
Leia abaixo as possíveis funções do áudio nas produções:
I – Determina o clima.
II – Intensifica as sensações.
III – A trilha sonora ajuda a estruturar a edição.
IV – Estabelece o tempo e o local.
Marque a opção das funções verdadeiras
Provas
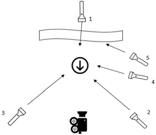
Disciplina: Comunicação Social
Banca: IBADE
Orgão: Pref. Barra São Francisco-ES

A figura acima representa o início dos trabalhos para o planejamento e a elaboração de um roteiro transmídia. Relembre abaixo as características de um roteiro para as novas mídias.
I – Há uma premissa.
II – Linearidade.
III – Hipertextualidade.
IV – Diversidade.
São verdadeiras as características.
Provas
Disciplina: Comunicação Social
Banca: IBADE
Orgão: Pref. Barra São Francisco-ES
Analise a tirinha abaixo:

Baseado no objetivo que a tirinha quer transmitir ao seu leitor, podemos constatar que as linhas editoriais da programação das emissoras de rádio e TV em geral buscam:
I – cumprir apenas as prerrogativas legais que lhe são atribuídas
PORQUE
II – as crianças são seu principal público, já que serão os adultos de amanhã
Assinale a opção correta.
Provas
Disciplina: Comunicação Social
Banca: IBADE
Orgão: Pref. Barra São Francisco-ES
- Linguagens e Suportes MidiáticosProdução AudiovisualRoteiro, Produção e Edição de Conteúdo Audiovisual e Cinematográfico
O iniciante à roteirista entregou seu primeiro argumento de um filme. Era a história de um jovem sonhador que queria ser um radialista de sucesso, e que ganha um bilhete para ir para os EUA. Chegando lá, aproveita-se de uma vaga aberta em uma rádio local para se transformar em um locutor famoso em todo o país por tratar de questões sociais. No entanto, o argumento foi prontamente rejeitado, pois faltava-lhe a mais importante força de um bom roteiro.
Assinale qual é essa característica.
Provas
Caderno Container