Foram encontradas 100 questões.
Com relação a máquinas elétricas de corrente contínua (CC), julgue o item abaixo.
O desgaste das escovas de um motor CC em conexão série pode provocar o aumento do faiscamento no comutador.
Provas
Questão presente nas seguintes provas
No circuito abaixo, a fonte apresenta tensão senoidal, com freqüência 60 Hz e valor eficaz igual a 100 V.

Considerando essas informações e os dados indicados no circuito, julgue o item que se segue.
Se a carga equivalente é composta pelos três elementos passivos de circuito em série, conectados entre os terminais a-b, o fator de potência dessa carga é indutivo.
Provas
Questão presente nas seguintes provas
Com relação a medidas elétricas, julgue o item abaixo.
Os medidores convencionais de energia elétrica, que funcionam com base no princípio da indução eletromagnética, são classificados na categoria dos instrumentos registradores, pois registram, a cada dia, o consumo acumulado de energia elétrica.
Provas
Questão presente nas seguintes provas
A respeito de máquinas elétricas de corrente alternada (CA), julgue o item seguinte.
Considere que um motor de indução trifásico de rotor em gaiola tenha sido conectado a uma fonte trifásica e, mesmo consumindo dela valor elevado de corrente, não conseguiu partir. Nesse caso, uma possível causa do problema é a interrupção de apenas uma das três fases da alimentação.
Provas
Questão presente nas seguintes provas
Um pára-raios a resistor não-linear foi instalado em uma rede elétrica de distribuição para fins de proteção contra sobretensão provocada por descargas atmosféricas ou por chaveamento da rede. Em relação às características desse equipamento, julgue o item que se segue.
Resistores não-lineares, que fazem parte desses pára-raios, são construídos a partir de blocos contendo carvão.
Provas
Questão presente nas seguintes provas
A figura abaixo mostra um circuito alimentado por cinco pilhas secas de 1,5 V cada uma, em perfeito estado de funcionamento, ligadas em série. Os outros componentes do circuito também conectados em série são uma chave-faca e três suportes de lâmpadas. As três lâmpadas são, cada uma, de 2,5 V e precisam ser rosqueadas nos suportes. Suponha que as resistências internas das pilhas sejam desprezíveis e que as ligações foram feitas de forma adequada.

Com base nessas informações, julgue o item a seguir.
Considere a seguinte situação hipotética.
Uma das lâmpadas em perfeito estado de funcionamento, ao ser inserida em um dos suportes, não foi rosqueada adequadamente. Para se detectar o problema com um ohmímetro, foi medida a resistência entre os dois terminais de cada suporte, sem que qualquer alteração fosse efetuada no estado de rosqueamento de cada lâmpada. Nessa situação, haverá somente, em uma das leituras, a indicação de resistência muito baixa e, nas outras duas leituras, a indicação de resistências infinitas (muito elevadas).
Provas
Questão presente nas seguintes provas
A respeito de máquinas elétricas de corrente alternada (CA), julgue o item seguinte.
Um motor de indução trifásico de rotor bobinado deve ter a sua partida realizada com os terminais externos do rotor abertos, pois, assim, a corrente de partida é reduzida.
Provas
Questão presente nas seguintes provas

Hélio Creder. Instalações elétricas. 14.ª ed. Rio de Janeiro: LTC, 2000, p. 249 (com adaptações).
Julgue o item que se segue, a respeito da figura acima, que mostra os diagramas de força e de controle do acionamento de um motor de indução trifásico com reversão do sentido de rotação.
No diagrama de controle, o contato x deve ser um contato normalmente aberto de c2, para garantir que a bobina do contator c1 não esteja energizada quando a bobina do contator c2 estiver energizada.
Provas
Questão presente nas seguintes provas
Um pára-raios a resistor não-linear foi instalado em uma rede elétrica de distribuição para fins de proteção contra sobretensão provocada por descargas atmosféricas ou por chaveamento da rede. Em relação às características desse equipamento, julgue o item que se segue.
No que diz respeito à tensão nominal, a especificação do pára-raios independe do tipo de configuração da rede elétrica, ou seja, a escolha da tensão nominal não é afetada, por exemplo, pelo tipo de ligação dos transformadores de distribuição e de seus esquemas de aterramento, quando for o caso.
Provas
Questão presente nas seguintes provas
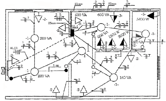
A figura abaixo mostra o desenho da instalação elétrica de um apartamento. A simbologia gráfica adotada segue a norma técnica brasileira específica para projetos de instalações elétricas.

Domingos Leite Filho. Projeto de instalações elétricas prediais. São Paulo: Editora Érica Ltda, 1997, p. 70.
A figura abaixo mostra o desenho da instalação elétrica de um apartamento. A simbologia gráfica adotada segue a norma técnica brasileira específica para projetos de instalações elétricas.
Com base no desenho apresentado, julgue o item subseqüente.
No desenho, há indicação de um eletroduto embutido no piso que se estende até o quadro de distribuição QL-1.
Provas
Questão presente nas seguintes provas
Cadernos
Caderno Container