Foram encontradas 2.000 questões.
- EletrotécnicaCircuitos Elétricos em Eletricidade
- EletrotécnicaCircuitos de Corrente Contínua e de Corrente Alternada
Para o circuito elétrico resistivo da Figura abaixo, alimentado pela fonte de tensão E0 , todos os resistores são iguais e valem R ohms.

Qual a expressão da tensão no ponto P do circuito?

Qual a expressão da tensão no ponto P do circuito?
Provas
Questão presente nas seguintes provas
No enrolamento do secundário de um transformador de potencial (T.P.), a tensão normalmente padronizada é 115 volts ou 115 /√3.
Os equipamentos alimentados através de um (T.P.) têm como característica
Os equipamentos alimentados através de um (T.P.) têm como característica
Provas
Questão presente nas seguintes provas

A Figura acima mostra a tela de um osciloscópio onde, na parte superior, aparece o sinal de tensão de uma onda quadrada que é aplicada na entrada de um circuito RC.
Na parte inferior da Figura, mede-se o sinal de tensão correspondente à saída desse mesmo circuito.
Analisando os sinais, conclui-se que esse circuito RC se comporta como um
Provas
Questão presente nas seguintes provas
O retificador monofásico de meia onda ilustrado abaixo é alimentado por um transformador cujo primário recebe 220 Vef da rede, fornecendo no secundário a tensão Vs= 25 Vef.

Dados
√2 = 1,4
√3 = 1,7
π = 3,14
Provas
Questão presente nas seguintes provas
Quais são as grandezas elétricas representadas, respectivamente, pelas unidades: W; VAR; VA?
Provas
Questão presente nas seguintes provas
- EletrotécnicaCircuitos Elétricos em Eletricidade
- EletrotécnicaCircuitos de Corrente Contínua e de Corrente Alternada
Considere o circuito com transistor a seguir para responder à questão.

Nesse circuito, a corrente IB que circula através de sua base corresponde, em mA, a

Nesse circuito, a corrente IB que circula através de sua base corresponde, em mA, a
Provas
Questão presente nas seguintes provas

A Figura acima mostra um sinal de tensão senoidal, onde estão indicadas medidas de amplitude e tempo.
O valor da frequência angular, em rad/s, desse sinal senoidal é de
Provas
Questão presente nas seguintes provas

A NBR 5410 estabelece esquemas de aterramento genéricos considerando a forma de aterramento da fonte de alimentação e das massas dos equipamentos presentes no sistema elétrico.
O esquema de aterramento ilustrado na Figura acima é
Provas
Questão presente nas seguintes provas
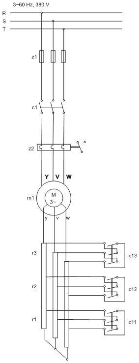
- EletrotécnicaCircuitos Elétricos em Eletricidade
- EletrotécnicaMotores
- EletrotécnicaEquipamentos Elétricos
- EletrotécnicaCircuitos de Corrente Contínua e de Corrente Alternada
- Chaves Seccionadoras

Provas
Questão presente nas seguintes provas
Amplificadores com elevados ganhos de tensão, alta impedância de entrada e baixa de saída são construídos usando-se
Provas
Questão presente nas seguintes provas
Cadernos
Caderno Container