Foram encontradas 2.689 questões.
316836
Ano: 2012
Disciplina: Engenharia Ambiental e Sanitária
Banca: CESGRANRIO
Orgão: Petrobrás
Disciplina: Engenharia Ambiental e Sanitária
Banca: CESGRANRIO
Orgão: Petrobrás
Provas:
Nas refinarias de petróleo, os processos de conversão têm como objetivo transformar determinadas frações do petróleo em outras de maior interesse econômico. Esses processos têm natureza química e se utilizam de reações de quebra, reagrupamento e reestruturação molecular.
O processo que tem por objetivo o rearranjo da estrutura molecular dos hidrocarbonetos contidos em determinadas frações do petróleo, com o fim de valorizá-las, é a(o)
Provas
Questão presente nas seguintes provas
316835
Ano: 2012
Disciplina: Engenharia Ambiental e Sanitária
Banca: CESGRANRIO
Orgão: Petrobrás
Disciplina: Engenharia Ambiental e Sanitária
Banca: CESGRANRIO
Orgão: Petrobrás
Provas:
Os principais poluentes atmostéricos emitidos pelas refinarias de petróleo são os óxidos de enxofre e nitrogênio, o monóxido de carbono, os materiais particulados e os hidrocarbonetos.
Sobre esses poluentes atmosféricos emitidos pelas refinarias, tem-se que
Provas
Questão presente nas seguintes provas
316834
Ano: 2012
Disciplina: Engenharia Ambiental e Sanitária
Banca: CESGRANRIO
Orgão: Petrobrás
Disciplina: Engenharia Ambiental e Sanitária
Banca: CESGRANRIO
Orgão: Petrobrás
Provas:
As refinarias de petróleo utilizam grandes volumes de água para as suas atividades e, a cada etapa do processo de refino, diferentes efluentes hídricos são gerados.
Nessas circunstâncias, o efluente gerado,
Provas
Questão presente nas seguintes provas
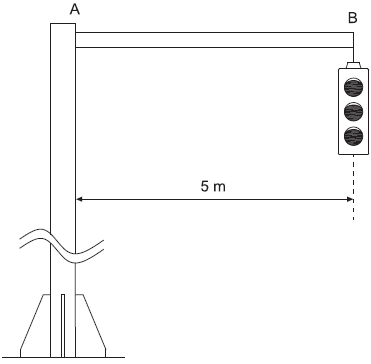
O semáforo apresentado na figura abaixo tem massa igual a 20 kg.

O tubo AB está em balanço (engastado em A e livre em B) e possui massa igual a 2 kg/m distribuída uniformemente ao longo do seu comprimento.
Se a aceleração da gravidade no local é g = 10 m/s2, qual o valor, em N.m, do máximo momento fletor atuante no tubo AB?
Provas
Questão presente nas seguintes provas
316832
Ano: 2012
Disciplina: Engenharia Ambiental e Sanitária
Banca: CESGRANRIO
Orgão: Petrobrás
Disciplina: Engenharia Ambiental e Sanitária
Banca: CESGRANRIO
Orgão: Petrobrás
Provas:
Uma política ambiental pretende ter como resultado a redução da deterioração ambiental, quando comparada com a que ocorreria se tal política não fosse implantada. Para isso, pode contar com instrumentos econômicos ou de mercado e instrumentos de comando e controle.
NÃO é um exemplo de instrumento de comando e controle a(o)
Provas
Questão presente nas seguintes provas
O componente das tintas, responsável direto pela continuidade e formação da película, é denominado
Provas
Questão presente nas seguintes provas
A pilha eletrolítica formada pelos eletrodos Fe2+ + 2e− → Fe e Cu2+ + 2e− → Cu, com potenciais de redução respectivamente iguais a – 0,44 V e + 0,34 V, tem força eletromotriz, em V, igual a
Provas
Questão presente nas seguintes provas
Dentro das oficinas de estruturas navais dos estaleiros, é comum realizar a movimentação e elevação de pesos através de equipamentos que requerem suporte em ambos os lados, ao longo de todo comprimento a ser percorrido na oficina.
Esse equipamento denomina-se
Provas
Questão presente nas seguintes provas
O corte das chapas de aço e de alumínio num estaleiro pode ser realizado por processos mecânicos e térmicos.
Para o corte mecânico, utilizam-se normalmente quais máquinas?
Provas
Questão presente nas seguintes provas
A data chave que marca o início da construção de um navio, no dique ou na carreira, denomina-se
Provas
Questão presente nas seguintes provas
Cadernos
Caderno Container