Foram encontradas 60 questões.
Uma equipe realizou 1000 m2 de alvenaria em 8 dias. Para a realização de uma outra etapa de alvenaria (idêntica à primeira), a equipe foi reduzida, e a produtividade foi 20% menor.
Sabendo-se que essa nova etapa de alvenaria era de 2500 m2, o tempo para a sua execução, em dias, foi de
Provas
Questão presente nas seguintes provas
Para executar um piso em cimentado, com volume total de 2,84 m3, foram utilizados equipamentos com volumes de 54 litros e de 23 litros para transporte. Com o equipamento de 54 litros só puderam ser feitas 10 viagens (cheias).
Assim, sem considerar perdas ou acréscimos, para realizar o serviço, a quantidade de viagens com o outro equipamento foi de
Provas
Questão presente nas seguintes provas
Deseja-se abrir um vão em uma polilinha desenhada no AutoCad.
Uma das formas de fazê-lo é utilizando-se o comando
Provas
Questão presente nas seguintes provas
Para facilitar o traçado de determinado desenho no AutoCad, pretende-se criar uma malha de pontos no fundo da área gráfica.
Para tanto, deve-se usar o comando
Provas
Questão presente nas seguintes provas
No comando Rectangle do AutoCad, ao se utilizar a opção Width, é possível definir a(o)
Provas
Questão presente nas seguintes provas
Uma viga de 10 cm x 40 cm x 2,50 m recebe 12 kg de aço em sua confecção.
A taxa de aço em relação ao concreto, em kg/m3, é de
Provas
Questão presente nas seguintes provas
Para a concretagem de uma laje, necessita-se de
- cimento: 400 kg por m3 de concreto
- areia: 0,6 m3 por m3 de concreto
- brita: 0,8 m3 por m3 de concreto
Sabendo-se que a laje mede 4 m x 5 m com 12 cm de espessura e admitindo-se uma perda de 2% no cimento, de 5% na areia e de 10% na brita, conclui-se que, na concretagem, serão consumidos
| Cimento (kg) | Areia (m3) | Brita (m3) |
Provas
Questão presente nas seguintes provas
As caçambas transportadoras de concreto devem apresentar dispositivo de segurança.
Segundo a NBR 7678:1983 (Segurança na execução de obras e serviços de construção), esse dispositivo de segurança tem a finalidade de impedir a(o)
Provas
Questão presente nas seguintes provas
Segundo a NBR 12317:1992 (Verificação do desempenho de aditivos para concreto-Procedimento), o desempenho de materiais a serem utilizados como aditivos para concreto é realizado por processo
Provas
Questão presente nas seguintes provas
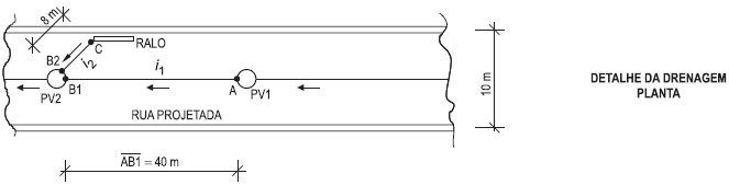
Considere os croquis sem escala e os dados a seguir para responder à questão.



Dados:
ZA, ZB1, ZB2 e ZC são cotas das geratrizes superiores dos tubos,
nos pontos A, B1, B2 e C
ZA = 1,20 m
ZB1 e ZB2= 1,80 m
L1 e L2 são limites dos serviços
!$ \pi !$ = 3,14
Desconsiderar a espessura do meio-fio (guia) em todos os cálculos
ZA, ZB1, ZB2 e ZC são cotas das geratrizes superiores dos tubos,
nos pontos A, B1, B2 e C
ZA = 1,20 m
ZB1 e ZB2= 1,80 m
L1 e L2 são limites dos serviços
!$ \pi !$ = 3,14
Desconsiderar a espessura do meio-fio (guia) em todos os cálculos
O volume geométrico de material para a execução da base do pavimento no trecho L1L2, em m3, é
Provas
Questão presente nas seguintes provas
Cadernos
Caderno Container