Foram encontradas 2.308 questões.
A operação em que se faz girar um sólido ao redor do eixo da máquina operatriz que executa o trabalho de usinagem, quando uma ferramenta de corte retira material deste sólido perifericamente, de modo a transformá-lo em uma peça de características geométricas bem definidas, é o
Provas
Dentre as atividades realizadas na oficina de fabricação de estruturas de um estaleiro, pode-se destacar a(o)
Provas
Os componentes estruturais que contribuem, diretamente, para a resistência longitudinal do navio são
Provas
A principal função dos prumos e travessas na estrutura de um navio é
Provas
A viga biapoiada de seção transversal constante é solicitada por uma carga uniformemente distribuída de intensidade 40 kN/m, conforme apresentado na figura abaixo.

Sabendo-se que o comprimento da viga é igual a 5 m, o valor do momento fletor máximo, em kN.m, é
Provas
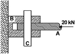
A figura abaixo ilustra a conexão da haste A pelo pino C ao suporte B. A haste A encontra-se solicitada à compressão. O esforço de compressão sob a haste A vale 20 kN e a área da seção transversal do pino C vale 400 mm2.

Nesta situação, os valores do esforço cortante e da tensão de cisalhamento média sob o pino C são, respectivamente, iguais a
Provas
Considere uma transmissão por engrenagens de dentes retos. Supondo que o pinhão possui 20 dentes de módulo igual a 2 mm e rotação de 10 rpm, e a coroa possui 40 dentes, os valores do módulo dos dentes e da rotação da coroa, respectivamente, são iguais a
Provas
A figura abaixo ilustra esquematicamente uma junta soldada por dois filetes, ambos de comprimento L (transversal à figura). A experiência prática aconselha utilizar no dimensionamento deste tipo de junta soldada as tensões calculadas no plano AB. Suponha que as seções transversais dos filetes de solda sejam triângulos retângulos isósceles e que o plano AB seja transversal à hipotenusa da seção do filete.

O valor da tensão de cisalhamento média (tAB) neste plano é (Considere todas as chapas com espessura H e submetidas a forças de tração F)
Provas
Para classificação de estruturas de navios, as Sociedades Classificadoras executam procedimentos para verificar se os componentes estruturais estão de acordo com seus requisitos. Neste sentido, tais procedimentos compreendem
Provas
Dos processos de corte aplicados em chapas metálicas, aquele que não deve ser empregado nas chapas de alumínio é o corte
Provas
Caderno Container