Foram encontradas 80 questões.
Dois chuveiros elétricos apresentam as seguintes especificações:
chuveiro A – 5 600 W-240 V; chuveiro B – 2 800 W-120 V.
Sabendo que seus resistores ôhmicos e cilíndricos são feitos do mesmo material e têm o mesmo comprimento, a razão entre suas áreas de secção transversal, SA/SB, vale
chuveiro A – 5 600 W-240 V; chuveiro B – 2 800 W-120 V.
Sabendo que seus resistores ôhmicos e cilíndricos são feitos do mesmo material e têm o mesmo comprimento, a razão entre suas áreas de secção transversal, SA/SB, vale
Provas
Questão presente nas seguintes provas
Ao ser expelido do cano de 50 cm de comprimento de uma arma em repouso relativamente ao solo, um projétil leva 0,10 s para percorrer, em linha reta e com velocidade constante, a distância de 100 m. Supondo que a massa do projétil seja de 25 g e que seu movimento no interior do cano seja realizado com aceleração constante, a intensidade da força propulsora resultante sobre ele no interior do cano deve ser, em newtons, de
Provas
Questão presente nas seguintes provas
Certa massa de vapor encontra-se encerrada em um recipiente cilíndrico, isolante térmico, dotado de um êmbolo que permite variar seu volume, como mostra a figura.

Em determinado momento, o êmbolo é bruscamente deslocado, por um agente externo, no sentido de comprimir o vapor até um volume menor; essa compressão gera uma combustão espontânea, transformando o vapor em gás, o que provoca, em seguida, um deslocamento do êmbolo até a posição inicial. O gráfico, da pressão (P) versus volume (V), que melhor representa a sequência de transformações ocorridas no interior do recipiente é

Em determinado momento, o êmbolo é bruscamente deslocado, por um agente externo, no sentido de comprimir o vapor até um volume menor; essa compressão gera uma combustão espontânea, transformando o vapor em gás, o que provoca, em seguida, um deslocamento do êmbolo até a posição inicial. O gráfico, da pressão (P) versus volume (V), que melhor representa a sequência de transformações ocorridas no interior do recipiente é
Provas
Questão presente nas seguintes provas
Em um trecho curvilíneo de uma rodovia horizontal, o motorista de determinado veículo, dirigindo em velocidade excessiva, perdeu o controle da direção e, atravessando a pista, caiu na vala que havia além do acostamento. Chovia muito naquele momento e várias hipóteses foram levantadas para explicar o fato. Em relação a um referencial inercial, assinale a alternativa que apresenta a hipótese correta.
Provas
Questão presente nas seguintes provas
Em determinadas investigações, o uso de aparelhos emissores de ondas eletromagnéticas torna-se imprescindível. Considere uma sequência de frentes de ondas planas deslocando-se no ar e incidindo sobre um grande cubo de vidro maciço formando um ângulo α com a face de incidência, como mostra a figura.

Parte dessas ondas é refletida pela face do cubo de vidro e outra parte é refratada. A figura ilustra as frentes incidentes e as refratadas.
Com base nessas informações, é correto afirmar que, em relação às frentes de ondas incidentes, as frentes de ondas

Parte dessas ondas é refletida pela face do cubo de vidro e outra parte é refratada. A figura ilustra as frentes incidentes e as refratadas.
Com base nessas informações, é correto afirmar que, em relação às frentes de ondas incidentes, as frentes de ondas
Provas
Questão presente nas seguintes provas
Um projétil, de massa m = 10 g, feito de metal de calor específico c = 0,10 cal/(g.ºC), atinge um colete à prova de bala com velocidade v = 600 m/s, parando antes de
atravessá-lo. O equivalente mecânico do calor é admitido com o valor 4,2 J/cal e o colete é tido como adiabático. A quantidade de calor dissipada integralmente no projétil deve elevar a temperatura dele, em ºC, de aproximadamente
atravessá-lo. O equivalente mecânico do calor é admitido com o valor 4,2 J/cal e o colete é tido como adiabático. A quantidade de calor dissipada integralmente no projétil deve elevar a temperatura dele, em ºC, de aproximadamente
Provas
Questão presente nas seguintes provas
Quando olhamos para um aquário e visualizamos um peixe, raios luminosos emitidos pelo peixe atingem nossos olhos após sofrerem duas refrações consecutivas: da água para o vidro e do vidro para o ar. Lembrando que o índice de refração absoluto de vidro é maior que o da água e o da água maior que o do ar, a trajetória de um raio de luz refletido pelo peixe P que atinge o olho de um observador O, está corretamente representada em
Provas
Questão presente nas seguintes provas
A polia dentada do motor de uma motocicleta em movimento, também chamada de pinhão, gira com frequência de 3 600 rpm. Ela tem um diâmetro de 4 cm e nela está acoplada uma corrente que transmite esse giro para a coroa, solidária com a roda traseira. O diâmetro da coroa é de 24 cm e o diâmetro externo da roda, incluindo o pneu, é de 50 cm. A figura a seguir ilustra as partes citadas.

Use Π = 3, considere que a moto não derrapa e que a transmissão do movimento de rotação seja integralmente dirigida ao seu deslocamento linear.
A velocidade da moto, em relação ao solo e em km/h, é de

Use Π = 3, considere que a moto não derrapa e que a transmissão do movimento de rotação seja integralmente dirigida ao seu deslocamento linear.
A velocidade da moto, em relação ao solo e em km/h, é de
Provas
Questão presente nas seguintes provas
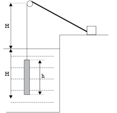
Na operação de resgate de uma peça metálica, maciça e cilíndrica de geratriz h, do fundo do mar, um guincho iça a peça retirando-a lentamente e com velocidade constante, até que ela fique toda fora da água. A distância vertical entre a roldana do guindaste e a superfície livre da água é H > h, e a viscosidade da água é desprezível, assim como a resistência do ar. O instante em que a face superior do cilindro é retirada da água é t 1 e o instante em que a face inferior é retirada é t 2.

O gráfico que melhor relaciona a intensidade da força de tração (F) no cabo do guindaste com o tempo (t) de duração da operação é

O gráfico que melhor relaciona a intensidade da força de tração (F) no cabo do guindaste com o tempo (t) de duração da operação é
Provas
Questão presente nas seguintes provas
A moderna Criminologia
Provas
Questão presente nas seguintes provas
Cadernos
Caderno Container