Foram encontradas 906 questões.
O critério de dureza de materiais que relaciona a carga aplicada Q e a dimensão L através da expressão

é a dureza
Provas
A dureza Rockwell de um material, obtida através de um penetrador cônico de diamante e uma carga de 150 kgf, deve ser lida na escala
Provas
Uma polia de 100 mm de diâmetro transmite, através de uma correia, rotação para outra polia de 200 mm de diâmetro. Se a velocidade da correia é de 314 m/min, as rotações das polias menor e maior serão, em rpm, respectivamente,
Provas
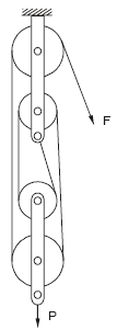
Um sistema constituído de roldanas fixas e móveis é denominado moitão e visa diminuir o esforço do operador na elevação de cargas.

Por exemplo, o moitão ilustrado acima reduz o esforço do operador em relação à carga P em
Provas
No sistema apresentado na figura, o tambor tem o mesmo diâmetro da roldana.

Para uma volta do tambor no sentido anti-horário, a
Provas
O diagrama de momentos fletores de uma barra prismática resultou na configuração abaixo.

Como o sistema é isostático,
Provas
Uma barra de seção transversal uniforme recebe duas cargas concentradas de igual intensidade conforme mostra a figura abaixo.

Sendo os pontos de aplicação das cargas eqüidistantes das extremidades das barras, a força cortante é constante e
Provas
A barra da figura tem um momento de reação no engastamento de 300 Nm no sentido anti-horário.

Portanto, o valor da força F, aplicada no ponto médio da barra, é de
Provas
A figura mostra uma barra prismática biapoiada.

Como F1 é o dobro de F2, a reação horizontal no apoio fixo é
Provas
A carga da figura está suspensa por três cabos de mesmo diâmetro.

Para que os três cabos estejam submetidos à mesma tensão, α deve ser igual a
Provas
Caderno Container