Magna Concursos

Foram encontradas 850 questões.

2615564 Ano: 2022
Disciplina: Engenharia Mecânica
Banca: Marinha
Orgão: Marinha

Quantos componentes têm um diagrama pseudobinário?

 

Provas

Questão presente nas seguintes provas
2615563 Ano: 2022
Disciplina: Engenharia Mecânica
Banca: Marinha
Orgão: Marinha

O tratamento térmico em metais representa um conjunto de operações de aquecimento a que são submetidos os aços, sob condições controladas de temperatura, tempo, atmosfera e velocidade de esfriamento, com o objetivo de alterar suas propriedades ou conferir-lhes características determinadas. Com relação aos tratamentos térmicos usuais do aço, analise as afirmativas abaixo.

I. O recozimento pleno, que consiste no aquecimento do aço abaixo da zona crítica, seguido de resfriamento ao ar, visa refinar a granulação grosseira de peças de aço fundido principalmente e é ainda usado como tratamento preliminar ao revenido.

II. A têmpera consiste no aquecimento do aço até sua temperatura de austenitização, seguido de resfriamento rápido. Os objetivos da têmpera são aumentos da dureza do aço e de sua resistência à tração, uma vez que o constituinte final desejado é a martensita.

III· A normalização é o tratamento térmico que sempre acompanha a têmpera, pois além de aliviar ou remover as tensões internas, corrige as excessivas dureza e fragilidade do material, aumentando sua ductilidade e resistência ao choque.

Assinale a opção correta.

 

Provas

Questão presente nas seguintes provas
2615562 Ano: 2022
Disciplina: Engenharia Mecânica
Banca: Marinha
Orgão: Marinha

Qual liga não ferrosa é aplicada em tubulações de circuito de refrigeração a água salgada e redes sanitárias de navios, devido a suas propriedades de ductilidade, resistência mecânica e resistência a corrosão?

 

Provas

Questão presente nas seguintes provas
2615561 Ano: 2022
Disciplina: Engenharia Mecânica
Banca: Marinha
Orgão: Marinha

O comportamento em fadiga de materiais de engenharia é altamente sensível a diversas variáveis. Sendo assim, assinale a opção correta.

 

Provas

Questão presente nas seguintes provas
2615560 Ano: 2022
Disciplina: Engenharia Mecânica
Banca: Marinha
Orgão: Marinha

Com relação a influência da temperatura sobre o comportamento magnético dos materiais, analise as afirmativas abaixo.

I- A temperatura pode influenciar as características magnéticas dos materiais.

lI- Com o aumento da temperatura, a magnetização de saturação diminui gradualmente e, então, cai abruptamente para zero, que é denominado temperatura de Curie.

IlI- Em temperaturas acima da temperatura de Néel, os materiais antiferromagnéticos se tornam paramagnéticos.

Assinale a opção correta.

 

Provas

Questão presente nas seguintes provas
2615559 Ano: 2022
Disciplina: Engenharia Mecânica
Banca: Marinha
Orgão: Marinha

São consideradas as descontinuidades estruturais mais graves em soldagem. São fortes concentradores de tensão, podendo favorecer o início da fratura frágil na estrutura soldada. Tais defeitos podem vir a se localizar na zona fundida, zona termicamente afetada ou mesmo no metal de base.

A descrição acima é referente a qual descontinuidade no processo de soldagem?

 

Provas

Questão presente nas seguintes provas
2615558 Ano: 2022
Disciplina: Engenharia Mecânica
Banca: Marinha
Orgão: Marinha

Duas barras cilíndricas estão acopladas por meio do pino A, que também é cilíndrico. O acoplamento está submetido a uma carga de tração de 5 kN. As duas barras possuem diâmetro de 30 mm e o pino A possui diâmetro de 25 mm, conforme ilustra a imagem a seguir:

Enunciado 2615558-1

Qual é, aproximadamente, o valor da tensão de cisalhamento média no pino A? Considere ,!$ \pi = 3,14 !$.

 

Provas

Questão presente nas seguintes provas
2615557 Ano: 2022
Disciplina: Engenharia Mecânica
Banca: Marinha
Orgão: Marinha

Qual é a propriedade que indica o nível de deformação plástica do material até a fratura?

 

Provas

Questão presente nas seguintes provas
2615556 Ano: 2022
Disciplina: Engenharia Mecânica
Banca: Marinha
Orgão: Marinha

A figura a seguir apresenta a curva característica de uma bomba centrífuga de potência nominal de 0,5 HP, que será utilizada para circulação da água de condensação para um sistema de refrigeração. A instalação necessita de uma vazão total de 0,7 m ih de água, que deve ser elevada a uma altura de 25 m por meio de uma tubulação com perda de carga estimada em 5 m. Estão disponíveis para essa instalação duas bombas do mesmo tipo, e eras podem ser arranjadas em série, em paralelo ou usadas individualmente.

Enunciado 2615556-1

Assinale a opção que descreve a melhor instalação para as duas bombas.

 

Provas

Questão presente nas seguintes provas
2615555 Ano: 2022
Disciplina: Engenharia Mecânica
Banca: Marinha
Orgão: Marinha

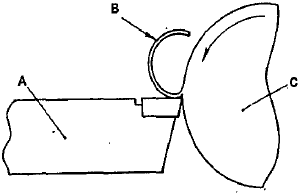
Observe a figura a seguir.

Enunciado 2615555-1

Assinale a opção que identifica corretamente A, B e C, da figura acima, respectivamente.

 

Provas

Questão presente nas seguintes provas