Foram encontradas 800 questões.
Uma peça de aço com comprimento Lo e área de seção transversal A é tracionada por uma força de magnitude F. Sabendo que E é o módulo de elasticidade desse aço e que a força aplicada gera tensão inferior ao limite de escoamento do material, qual é o comprimento final L da peça?
Provas
Durante um ensaio de tração, um técnico em mecânica da Marinha do Brasil observou que, após determinado instante, os valores da tensão medida por um computador conectado à máquina de ensaio diminuíram até a ruptura total do corpo de prova. Analisando-se a região da fratura, observou-se uma redução perceptível do diâmetro da seção transversal. O fenômeno que caracteriza essa redução ou "empescoçamento" da região da fratura é denominado:
Provas
Dentre as propriedades mecânicas dos metais, listadas nas alternativas abaixo, assinale a opção que representa a medida de rigidez do metal, ou seja, a resistência à deformação elástica.
Provas
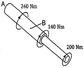
Qual o valor do torque da resultante interna na seção transversal do ponto B da figura abaixo? Considere que o eixo encontra-se engastado no ponto A

Provas
O processo de fundição no qual o metal líquido deve ser forçado a penetrar na matriz, de forma a preencher todos seus espaços e suas cavidades, é chamado de fundição:
Provas
Os metais são bons condutores, tanto de eletricidade quanto de calor, como consequência dos seus:
Provas
Qual tratamento termoquímico apresentado abaixo consiste no enriquecimento superficial de carbono de peças de baixo carbono?
Provas
Em relação às deformações dos metais, assinale a opção que completa corretamente as lacunas da sentença abaixo:
"A restrição ou impedimento ao movimento das discordâncias confere e do material".
Provas
A talha ilustrada na figura abaixo é responsável pelo içamento de uma carga P de 30 kN. Calcule a tensão normal média na seção AB do elo destacado e assinale a opção correta.
Dados:
!$ \pi=3 !$
diâmetro da seção transversal do elo = 10 mm

Provas
Os tratamentos térmicos de aços-carbono são utilizados quando se deseja alterar as propriedades mecânicas de determinado componente. Para essa finalidade, um técnico submeteu uma peça de aço-carbono à temperatura superior a de recristalização do material, resfriando-o, em seguida, em água. Assinale a opção que apresenta o tipo de tratamento realizado e o resultado desejado.
Provas
Caderno Container