Foram encontradas 650 questões.
Observe a figura abaixo:

Uma bobina de 4mH e um capacitor de 1 0pF formam o secundário de um transformador. Determine a frequência de ressonância no secundário em MHz e assinale a opção correta.
Provas
Observe as figuras abaixo:

Dados o circuito e o gráfico com as curvas características do transistor bipolar de junção (lC x VCE) e a reta de carga do circuito descritos nas imagens acima, determine, respectivamente, os valores de RB e RC que permitam polarizar o transistor no ponto Q assinalado na figura e marque a opção correta.
Provas
Observe a figura abaixo:

Sabendo que a tensão entre os pontos A e B é de 5V, calcule o valor da corrente IA e assinale a opção correta.
Provas
A respeito do SCR, assinale a opção INCORRETA.
Provas
Observe a figura abaixo:

Cada fase de um gerador conectado em estrela entrega uma corrente de 30A a uma tensão de fase de 254V, com um fator de potência de 0,8 atrasado. Determine a potência do sistema trifásico e assinale a opção correta.
Provas
Observe o circuito abaixo.

Com base no circuito acima, calcule a corrente I aproximada, considerando uma resistência RL de !$ 5 \Omega !$ e assinale a opção correta.
Provas
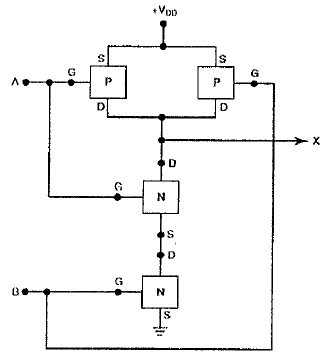
Observe o circuito abaixo:

O circuito acima é a implementação em CMOS da porta lógica:
Provas
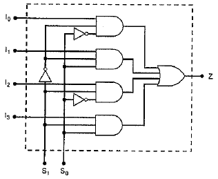
Analise o diagrama a seguir.

Assinale a opção que apresenta o nome do circuito lógico correspondente ao diagrama acima.
Provas
Observe o circuito abaixo:

No circuito acima, há uma lâmpada de 120V, 60W. Qual deve ser o valor da tensão de alimentação Vs para que a lâmpada opere sob condições nominais?
Provas
Analise o circuito abaixo.

A partir do circuito acima, assinale a opção que apresenta, respectivamente, os valores aproximados de RTH e VTH do equivalente Thevenin entre os terminais a e b.
Provas
Caderno Container