Foram encontradas 996 questões.
Calcule a potência na entrada do receptor para uma ligação microondas em visibilidade com as seguintes características: o transmissor tem 40 dBm de potência nominal de saída; sua antena tem um ganho de 40 dB; a atenuação introduzida pelo sistema de alimentação de transmissão é de 10 dB; a atenuação do espaço livre é de 130 dB; a atenuação total do sistema de alimentação na recepção é de 10 dB; e o ganho da antena de recepção é de 40 dB.
Provas
A unidade de transmissão de um rádio enlace encontra-se a 22 m de altura, no alto de um prédio, com visada direta do receptor. Considerando, no transmissor, a impedância de saída de 100 !$ Ω !$ e a potência de saída de 30 dBm, calcule a tensão na saída do transmissor em volts, e assinale a opção correta. Considere como ideais as condições de casamento de impedância.
Provas
De acordo com a recomendação H.323 da ITU para VolP, qual é o protocolo responsável por permitir que os terminais negociem o algoritmo a ser utilizado, além de negociar outros aspectos da conexão, como a taxa de bits?
Provas
Considere um problema de comunicação digital no qual uma fonte binária emite, a cada intervalo de sinalização, uma dentre as seguintes mensagens: dígito "0" e dígito "1". A probabilidade de transmissão do dígito "0" é 60% (P0 = 0,6) e a probabilidade de transmissão do dígito "1" é 40% (P1 = 0,4). A probabilidade de erro desse canal é 20% (Pc = 0,2), ou seja, 20% dos dígitos "0" transmitidos chegam como "1" ao receptor e 20% dos dígitos "1" transmitidos chegam como "0" ao receptor. Calcule a probabilidade de o receptor receber o dígito "0" e assinale a opção correta.
Provas
Com relação aos teoremas de Thevenin e de Norton, assinale a opção correta.
Provas
Assinale a opção correta a respeito da técnica WDM (wavelenght-division multiplexing) em fibra óptica.
Provas
Usa-se o artifício de raio equivalente da Terra para representar a onda que se propaga entre duas antenas através de um feixe retilíneo. Esse artifício facilita o projeto de ligação dos sistemas rádio cujo mecanismo de propagação dominante é o de
Provas
Referente aos satélites, é correto afirmar que
Provas
De acordo com a ABNT NBR 14565, é correto afirmar que
Provas
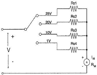
Analise a figura abaixo.

Determine o valor dos resistores multiplicadores RS1 , RS2, RS3, e RS4 para cada uma das escalas de calibre 25V, 20V, 10V e 1V, respectivamente, para um multímetro cujo galvanômetro possui deflexão de fundo de escala de IM = 1 00μA e resistência interna de RM = 1 !$ kΩ !$ e assinale a opção correta.
Provas
Caderno Container