Foram encontradas 700 questões.
Num experimento, um bloco metálico, à temperatura inicial de 120ºC, é imerso numa determinada quantidade de um certo líquido à temperatura de 15ºC, atingindo-se uma temperatura final de equilíbrio térmico de 40°C. Num segundo experimento, o mesmo bloco metálico é imerso na mesma quantidade do mesmo líquido, porém à temperatura de 20ºC, obtendo-se uma temperatura final de equilíbrio de 50ºC. Pode-se afirmar que a temperatura inicial do bloco metálico, em ºC, no segundo experimento era, aproximadamente, de:
Provas
A área da seção transversal máxima de um corpo opaco mede 1,00dm2 , e esse corpo está sendo iluminado por uma fonte luminosa puntiforme situada a 500mm de um anteparo plano, sobre o qual projeta-se a sombra do corpo. Sabendo-se que o anteparo é paralelo à seção transversal do corpo em questão e dista 300mm dele, pode-se afirmar que a área da sombra, em dm2, é:
Provas
Numa região limitada do espaço, existe um potencial elétrico dado por V(x,y) =A.exp [k(x-y)], onde A é uma constante negativa e k uma constante positiva, ambas com a dimensão apropriada. Caso se identifique a direção norte com o eixo y positivo e a direção leste com o eixo x positivo, pode-se dizer que, na origem, o vetor campo elétrico aponta para
Provas
O fenômeno do efeito fotoelétrico consiste na liberação de elétrons pela superfície de um metal, após a absorção da energia proveniente da radiação eletromagnética incidente sobre ele, de tal modo que a energia total da radiação seja parcialmente transformada em energia cinética dos elétrons expelidos. Analise as afirmativas abaixo, relativas à explicação desse fenômeno, tendo por base o modelo corpuscular da luz.
I - A energia cinética máxima dos elétrons expelidos depende apenas da intensidade da radiação eletromagnética incidente e da função trabalho do metal.
II - Os elétrons com energia cinética nula adquiriram energia suficiente para serem arrancados do metal.
III- Para que os elétrons sejam expelidos do metal, é necessário que a intensidade da radiação incidente seja suficientemente alta, independentemente da frequência da radiação.
Assinale a opção correta.
Provas
Analise a figura abaixo.

No sistema da figura, os blocos de massas m1 e m2 possuem acelerações !$ \vec{a}_1 = \vec{a}_2 = \dfrac{1}{5}g\hat{j} !$ , respectivamente, onde g é a aceleração da gravidade. Sabendo que as massas das polias e das cordas são desprezíveis, assinale a opção que apresenta o vetor aceleração do bloco de massa m3=3kg.
Provas
Analise a figura abaixo.

A figura acima mostra uma escada, com massa uniformemente distribuída, apoiada em uma parede vertical sem atrito. A extremidade inferior da escada está sobre uma superfície horizontal irregular. Sabendo que o coeficiente de atrito estático entre a escada e a superfície horizontal é μ e que 0 é o ângulo entre a escada e a parede, assinale a opção que apresenta uma condição necessária e suficiente para que a escada permaneça em equilíbrio.
Provas
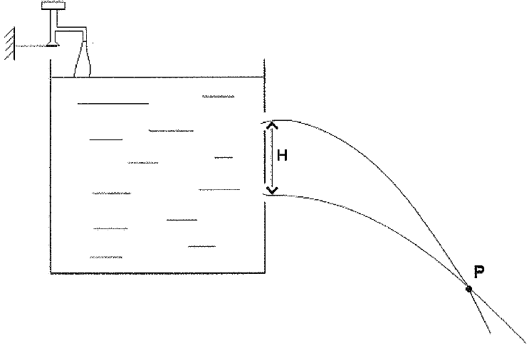
Analise a figura abaixo.

A figura mostra um recipiente sendo abastecido, em cada segundo, com 140cm3 de água. Esse recipiente apresenta dois jatos de água saindo por orifícios de mesma área, S=0,20cm2. A distância entre os orifícios é igual a H=50cm. Para que o ponto P de interseção dos jatos permaneça em repouso, qual é o valor da soma das velocidades, em m/s, com que os jatos d'água saem dos orifícios?
Provas
Uma amostra homogênea, sólida, de material desconhecido, apresenta um peso aparente P1 quando mergulhada em um líquido de massa específica P1 e, quando mergulhada em um líquido de massa específica P2 seu peso aparente passa a ser P2. Sendo assim, qual a massa específica da amostra?
Provas
Uma partícula de massa m=2,0kg, deslocando-se na direção x, sofre a ação de uma força conservativa F(x) tal que sua velocidade é dada por v(x)=4/x, com vem metros por segundo ex em metros. Considere a energia potencial associada à força F(x) como sendo nula quando a partícula está em X=1,0m. Quando a partícula estiver em x=2,0m, a força F(x), em newtons, e a energia potencial, em joules, serão dadas, respectivamente, por
Provas
Analise a figura abaixo.

Na figura acima, duas partículas A e B estão conectadas por uma haste rígida de comprimento L e massa desprezível. As partículas deslizam ao longo de trilhos perpendiculares que se cruzam no ponto O. Se A desliza no sentido negativo de y com uma velocidade constante vA, a razão entre a velocidade de B e a velocidade de A, vB/vA, quando 0=30º, é
Provas
Caderno Container