Foram encontradas 500 questões.
A retirada do condensado nas tubulações de vapor é feita por meio de
Provas
Qual o tratamento térmico indicado para remoção de tensões internas devido aos tratamentos mecânicos a frio e a quente?
Provas
Analise a figura a seguir.

Qual é a leitura, em milímetros, do paquímetro representado na figura acima?
Provas
Como é denominada a energia perdida pelo líquido, por unidade de peso, para se deslocar de um ponto a outro?
Provas
Analise a figura abaixo.
+
Assinale a opção que apresenta o gráfico da força cortante da viga com carregamento acima representada.
Provas
Leia o texto abaixo.
Nessa transformação, o gás não troca calor com o meio externo, seja porque ele está termicamente isolado, seja porque o processo ocorre suficientemente rápido, de forma que o calor trocado pode ser considerado desprezivel, ou seja, d!$ \mathcal{Q} !$ = 0,
O texto acima faz referência a que processo?
Provas
Sabendo-se que a relação entre a largura de um mancal radial e o diâmetro da árvore para um projeto é de b/d=0,75, dimensione a largura do mancal radial para um motor elétrico de rotação n=1740 rpm e carga F= 6000N, serviço contínuo a=1 e diâmetro da árvore 80mm e, a seguir, assinale a opção correta.
Provas
Um lustre que pesa 110N está preso ao teto por uma corrente de aço. Determine o diâmetro do arame da corrente, cujo material é o ABNT 1010L com !$ σ !$e = 220 MPa.para que suporte, com segurança (K=5), o peso do lustre.
Provas
Uma barra de seção retangular 5xl10cm, biapoiada, suporta uma carga distribuída de 100 kg/m e uma carga axiai de tração de 20t. O vão (distância entre os apoios) é 1,5m. Calcule a tensão máxima de cisalhamento que atua na peça e, a seguir, assinale a opção correta.
Provas
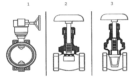
Observe as figuras abaixo.

Quais são os tipos de válvulas representados pelas figuras 1, 2 e 3, respectivamente.
Provas
Caderno Container