Foram encontradas 1.200 questões.
Em um lote urbano, a linha projetada e locada para marcar o limite entre o lote e o logradouro público denomina-se
Provas
Desenhar sobre as VIEWPORTS é uma das principais utilidades do desenho no PSPACE. Em relação ao desenho desenvolvido no PSPACE, assinale a opção correta.
Provas
Em uma instalação predial de esgoto, o coletor predial é definido como
Provas
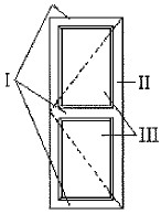
Observe a figura a seguir.

Em relação à ilstração acima, os elementos da esquadria indicados pelos números I, II e III representam, respectivamente:
Provas
Segundo a NBR 6492/1994, que fase do projeto se constitui na revisão final, pós-obra, de todos os documentos do projeto?
Provas
Observe a figura a seguir.

Segundo a NBR 6492/1994, o símbolo gráfico acima representa
Provas
Analise as figuras a seguir.

Em relação aos desenhos acima é correto afirmar que, utilizando- se os comandos de edição do AutoCAD, somente será possível que o padrão de preenchimento (HATCH) aplicado à FIGURA 1 seja ajustado automaticamente ao ser reposicionado o vértice A, como na FIGURA 2, se
Provas
Segundo Roberto de Carvalho Jr. (2007), qual a área mínima necessária para instalação e o uso de uma bacia sanitária?
Provas
Em uma cobertura, que tipo de tesoura é indicada para solucionar problemas de iluminação e ventilação no edifício?
Provas
'Assinale a opção que apresenta três fundações consideradas do tipo indiretas.
Provas
Caderno Container