Foram encontradas 1.350 questões.
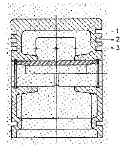
Observe o desenho a seguir.

Dado o desenho do corte de uma peça de motor acima, assinale a opção que apresenta, respectivamente, o nome da peça e o nome dos locais identificados pelos números 1, 2 e 3?
Provas
Em tubulações industriais, como regra geral, não deve haver nenhum trecho reto entre dois pontos fixos. Qual a razão desta regra?
Provas
Qual é o formato de papel conhecido como "Formato Básico"?
Provas
Coloque V (verdadeiro) ou F (falso) nas afirmativas abaixo em relação ao motor diesel de injeção indireta e assinale a seguir a opção que apresenta a sequência correta.
( ) Motores Diesel de injeção indireta não necessitam de pressão de injeção de óleo Diesel tão alta como os motores Diesel de injeção direta.
( ) Em razão da pressão de combustão em um motor Diesel de injeção indireta ser menor do que a de um motor Diesel de injeção direta, a espessura de parede do bloco de cilindros de um motor Diesel de injeção indireta é maior.
( ) Um motor Diesel de injeção indireta acelera mais rapidamente que um motor Diesel de injeção direta.
( ) Os motores Diesel de injeção indireta tem uma partida a frio mais fácil do que os motores Diesel de injeção direta.
( ) Os motores Diesel de injeção indireta têm um consumo de combustível maior do que um motor Diesel de injeção direta de mesma potência.
Provas
Em relação aos elementos de máquina, é INCORRETO afirmar que um eixo é um elemento que
Provas
Qual é a função específica do chamado Cárter Seco?
Provas
Observe o desenho a seguir.

Para todos os tipos usuais de válvulas, existem convenções de desenho que devem ser obedecidas. O desenho acima é arepresentação para qual tipo de válvula?
Provas
Coloque V (verdadeiro) ou F (falso) nas afirmativas abaixo em relação a um motor Diesel de 2 tempos e assinale a seguir a opção que apresenta a sequência correta.
( ) O motor Diesel de 2 tempos é mais leve, quando comparado a um motor Diesel de 4 tempos.
( ) O motor Diesel de 2 tempos tem como vantagem o menor consumo de combustível em comparação ao motor Diesel de 4 tempos.
( ) O motor Diesel de 2 tempos é de fabricação mais simples que o motor Diesel de 4 tempos.
( ) O motor Diesel de 2 tempos é mais poluente que o motor Diesel de 4 tempos.
( ) O motor Diesel de 2 tempos trabalha a temperaturas mais altas do que o motor a Diesel de 4 tempos.
Provas
O fluxo de ar em linha reta, paralelo às isóbaras e em velocidade constante, que é uma aproximação do vento real, é denominado vento
Provas
Aplicando regras práticas para previsão do tempo, pode-se esperar tempo bom quando
Provas
Caderno Container