Foram encontradas 1.350 questões.
Nos processos de perspectiva exata, denomina-se "Ângulo de visão distinta"
Provas
Alguns países utilizam o sistema inglês de medidas que adota o pé como unidade e a polegada como seu submúltiplo. Em quantas polegadas se subdivide um pé?
Provas
Observe o desenho a seguir.

Assinale a opção que representa, respectivamente, os elementos indicados pelas setas acima.
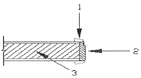
Provas
Observe o desenho a seguir.

Assinale a opção que representa, respectivamente, os elementos indicados pelas setas acima.
Provas
Quando desenhamos uma planta de instalações elétricas, identificamos a abertura das folhas de porta para evitar:
Provas
As luminárias podem ser classificadas de acordo com o modo como distribuem a luz emitida por suas lâmpadas. Dentre os tipos listados abaixo, qual deles tem a mesma variação de percentual de luz emitida tanto para cima quanto para baixo da linha do horizonte?
Provas
Observe as figuras a seguir.

Em AutoCAD, qual comando deve ser utilizado para que a figura 1 seja apresentada como a figura 2?
Provas
Observe a figura a seguir.

Qual a área total da figura representada acima?
Provas
Observe a figura a seguir.

Quantos litros de água serão necessários para encher 2/5 do reservatório acima?
Provas
O projeto executivo é uma etapa do projeto de arquitetura que permitirá o perfeito entendimento das orientações técnicas e construtivas àquele que irá executar a obra. Deve fazer parte dos desenhos nesta etapa:
Provas
Caderno Container