Magna Concursos

Foram encontradas 1.250 questões.

62510 Ano: 2008
Disciplina: Engenharia Mecânica
Banca: Marinha
Orgão: Marinha

A cavitação em bombas centrífugas causa

 

Provas

Questão presente nas seguintes provas
62509 Ano: 2008
Disciplina: Engenharia Mecânica
Banca: Marinha
Orgão: Marinha

Analise a figura a seguir.

Enunciado 3347091-1

No eixo apresentado, o símbolo "n" indica

 

Provas

Questão presente nas seguintes provas
62508 Ano: 2008
Disciplina: Engenharia Mecânica
Banca: Marinha
Orgão: Marinha

A quantidade de massa que ocupa uma unidade de volume É denominada de

 

Provas

Questão presente nas seguintes provas
62507 Ano: 2008
Disciplina: Engenharia Mecânica
Banca: Marinha
Orgão: Marinha

Como se denomina o tratamento térmico caracterizado por um resfriamento rápido em meios líquidos após aquecimento conveniente, e que tem por finalidade aumentar a dureza do aço?

 

Provas

Questão presente nas seguintes provas
62506 Ano: 2008
Disciplina: Engenharia Mecânica
Banca: Marinha
Orgão: Marinha

Observe as ilustrações a seguir.

Enunciado 3347088-1

Quais são, respectivamente, os tipos de acessórios rosqueados representados acima?

 

Provas

Questão presente nas seguintes provas
62505 Ano: 2008
Disciplina: Engenharia Mecânica
Banca: Marinha
Orgão: Marinha

Qual dos aços abaixo apresenta a maior dureza de acordo com seu teor de carbono?

 

Provas

Questão presente nas seguintes provas
62504 Ano: 2008
Disciplina: Engenharia Mecânica
Banca: Marinha
Orgão: Marinha

Assinale a opção que apresenta o processo de usinagem adequado à fabricação de um eixo de diâmetros escalonados.

 

Provas

Questão presente nas seguintes provas
62503 Ano: 2008
Disciplina: Engenharia Mecânica
Banca: Marinha
Orgão: Marinha

Analise as sentenças abaixo em relação aos casos em que se justifica o uso de juntas de expansão.

I - Para ligação direta entre dois equipamentos.

II - Em tubulações que por exigências de serviço devam ter trajetos diretos retilíneos, com um mínimo de perdas de carga e turbilhonamentos.

III- Em tubulações não sujeitas a vibrações de grande amplitude.

 

Provas

Questão presente nas seguintes provas
62502 Ano: 2008
Disciplina: Engenharia Mecânica
Banca: Marinha
Orgão: Marinha

Assinale a opção que apresenta dois tipos de válvulas de bloqueio.

 

Provas

Questão presente nas seguintes provas
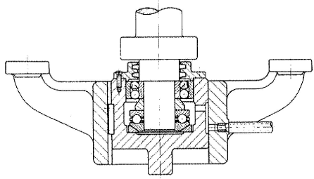
62501 Ano: 2008
Disciplina: Engenharia Mecânica
Banca: Marinha
Orgão: Marinha

Observe o desenho abaixo.

Enunciado 3347083-1

Os rolamentos superior e inferior são, respectivamente:

 

Provas

Questão presente nas seguintes provas