Foram encontradas 1.250 questões.
Os quatro grupos de processos industriais de fabricação de tubos são:
Provas
Antes da cementação, os aços devem ser normalizados para permitir usinagem. Após a cementação, as operações que podem conferir as dimensões e tolerâncias definitivas são as operações de
Provas
A injeção de gás natural ou gás de coqueira ou óleo ou carvão pulverizado através das ventaneiras do alto-forno permite
Provas
A corrosão de metais é normalmente medida em
Provas
Como é denominada a propriedade mecânica que representa a capacidade que um material tem de retornar à sua forma e dimensões originais quando cessa O esforço que o deformava?
Provas
São exemplos de válvulas de bloqueio e regulagem, respectivamente, as válvulas de
Provas
Assinale a opção que completa corretamente as lacunas da sentença abaixo.
Nos aços-carbono para fundição, a elevação do elemento carbono na sua composição permite do limite de escoamento, do limite de resistência à tração e da dureza.
Provas
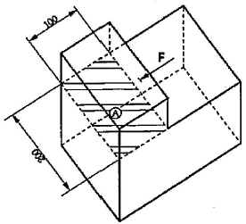
Analise a figura a seguir.

Sabendo que a força F tem intensidade de 300 N e está aplicada perpendicularmente à parede cujas dimensões estão representadas em mm, que tensão de cisalhamento, em kPa, atua no plano A da figura acima?
Provas
Um dos acessórios utilizados para fazer derivações em tubulações é
Provas
Analise as afirmativas abaixo.
A vida útil de um rolamento compreende o período no qual ele desempenha corretamente a sua função, terminando quando ocorre o desgaste causado pela fadiga do material. Os fatores que influenciam na vida nominal de um rolamento são:
I - Probabilidade de falha do material devido à fadiga.
II - Condição de serviço.
III- Características da matéria prima e tratamento térmico.
IV - Tipo construtivo do rolamento.
Assinale a opção correta.
Provas
Caderno Container