Magna Concursos

Foram encontradas 1.250 questões.

68959 Ano: 2007
Disciplina: Arquitetura
Banca: Marinha
Orgão: Marinha

A representação da planta baixa é caracterizada por:

 

Provas

Questão presente nas seguintes provas
68958 Ano: 2007
Disciplina: Arquitetura
Banca: Marinha
Orgão: Marinha

No que diz respeito às características arquitetônicas, como é denominado o pavimento que se repete ao longo de uma edificação?

 

Provas

Questão presente nas seguintes provas
68957 Ano: 2007
Disciplina: Arquitetura
Banca: Marinha
Orgão: Marinha

Qual planta indica a forma e as dimensões do terreno, dos lotes e das quadras vizinhas?

 

Provas

Questão presente nas seguintes provas
68956 Ano: 2007
Disciplina: Arquitetura
Banca: Marinha
Orgão: Marinha

Observe o desenho a seguir.

Enunciado 3347833-1

Quantos metros de arame farpado seriam necessários para cercar o perímetro do terreno esquematizado acima, constituída de sete fiadas de arame farpado?

 

Provas

Questão presente nas seguintes provas
68955 Ano: 2007
Disciplina: Arquitetura
Banca: Marinha
Orgão: Marinha

Analise a figura a seguir.

Enunciado 3347832-1

Assinale a opção que apresenta corretamente os elementos destacados na figura apresentada.

 

Provas

Questão presente nas seguintes provas
68954 Ano: 2007
Disciplina: Arquitetura
Banca: Marinha
Orgão: Marinha

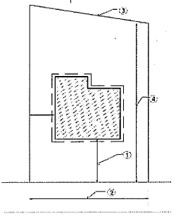
Observe o desenho abaixo.

Enunciado 3347831-1

No desenho apresentado, identifique corretamente os elementos representados pelos números e assinale a opção correta.

 

Provas

Questão presente nas seguintes provas
68953 Ano: 2007
Disciplina: Arquitetura
Banca: Marinha
Orgão: Marinha

O carimbo de uma prancha de desenho deve estar disposto de tal forma que permita principalmente a identificação

 

Provas

Questão presente nas seguintes provas
68952 Ano: 2007
Disciplina: Arquitetura
Banca: Marinha
Orgão: Marinha

Na escala 1:250, uma distância de 200 metros corresponde a quantos centímetros?

 

Provas

Questão presente nas seguintes provas
68951 Ano: 2007
Disciplina: Arquitetura
Banca: Marinha
Orgão: Marinha

Analise o desenho a seguir.

Enunciado 3347828-1

No desenho apresentado acima, o número 1.00 representa:

 

Provas

Questão presente nas seguintes provas
68950 Ano: 2007
Disciplina: Arquitetura
Banca: Marinha
Orgão: Marinha

Como é denominado o conjunto de peças que tem a finalidade de manter a tesoura no plano vertical, evitando a inclinação proveniente do próprio movimento do telhado?

 

Provas

Questão presente nas seguintes provas