Foram encontradas 1.250 questões.
Observe a representação abaixo.

A figura representa
Provas
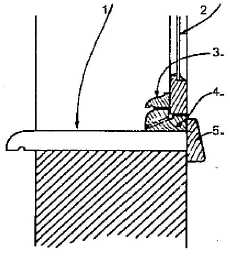
Analise o desenho abaixo.

Observe os elementos identificados pelos números, assinalando a resposta correta
Provas
Observe a figura a seguir.

Assinale a opção que corresponde ao elemento representado em corte, na figura acima.
Provas
A telha do tipo capa e canal é
Provas
Observe o desenho a seguir.

Como são denominados os componentes A, B, C e D, respectivamente, representados no desenho acima?
Provas
Observe o desenho a seguir.

Considerando o desenho da peça acima, qual o seu volume?
Provas
Ao executar um projeto de esgoto sanitário, deve-se permitir o escoamento dos dejetos rapidamente. Para isso, a declividade mínima dos ramais de descarga deve ser de
Provas
Observe o desenho a seguir.

Como são denominados os elementos destacados acima?
Provas
Uma caixa d'água cúbica de dimensões de 2,0m de largura, 2,0m de altura e 2,0m de profundidade deve ser colocada entre o telhado e a laje de uma casa, conforme mostra a figura abaixo.

Supondo que a altura máxima da água na caixa seja de 85% da altura da caixa, quantos litros de água podem ser armazenados nela?
Provas
Em um telhado, o elemento chamado rufo tem a finalidade de
Provas
Caderno Container