Foram encontradas 950 questões.

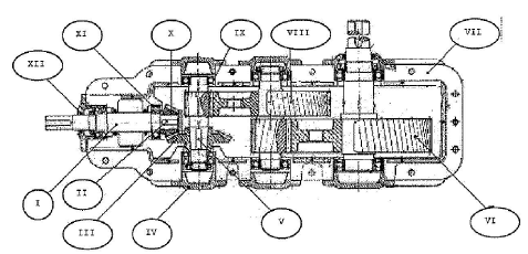
Assinale a opção que representa, respectivamente, os seguintes componentes: chaveta, engrenagem cônica, mancal de rolamento e engrenagem cilíndrica.
Provas
Assinale a opção que apresenta elementos geométricos que NÃO definem um piano.
Provas
Qual é a área, em mm2, de uma folha de papel de formato A2?
Provas

Quais são os quatro tipos de válvulas apresentadas acima?
Provas

Assinale a opção que apresenta o tipo de corte executado na peça representada na figura acima.
Provas

Na figura acima, encontra-se representada a escala fixa e o nônio (ou vernier) de um paquímetro. Assinale a opção que apresenta o valor, em mm, da sensibilidade do instrumento.
Provas
Em relação ao sistema de cotagem, coloque F (falso) ou V (verdadeiro) nas afirmativas abaixo, assinalando a seguir a opção correta.
( ) Em casos especiais as linhas de chamada e as linhas de centro podem servir de linhas de cotas.
( ) As linhas de centro,eixos, arestas e contornos de peças nunca podem substituir as linhas de chamada.
( ) As linhas de chamada, podem em casos de necessidade, serem traçadas obliquamente, mais paralelas entre si.
( ) Quando na vista cotada, mesmo que fique evidenciado que se trata de diâmetro ou quadrado, ainda assim o respectivo símbolo deverá ser utilizado.
( ) Sempre cotar as partes representadas com linhas invisíveis.
Provas
Assinale a opção que apresenta um ângulo obtuso e um agudo, respectivamente.
Provas
Assinale a opção que completa corretamente as lacunas da sentença abaixo.
"Diz-se que um ponto B é simétrico a um ponto À em relação ao plano horizontal de projeção, quando possui , em grandeza e sentido e da mesma grandeza, porém de sentido contrário."
Provas

( ) fixador
( ) Impulsor
( ) Grelha
( ) Vernier (em polegadas)
( ) Bico móvel
( ) Vernier (em milímetros)
( ) Haste de profundidade
Correlacione as partes componentes do paquímetro às suas nomenclaturas e assinale a opção correta.
Provas
Caderno Container