Foram encontradas 950 questões.

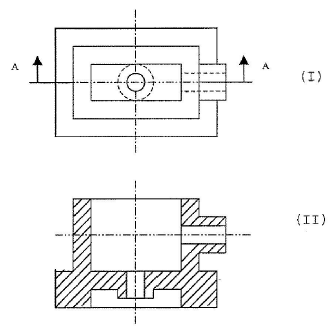
Com relação às figuras acima, é correto afirmar que com relação à figura I, a figura II representa a vista
Provas
Segundo CHIAVERINI, o processo pneumático tradicional para produção de aço utiliza o Conversor
Provas
Analise as afirmativas abaixo. No tratamento termoquímico de cementação de uma liga ferro-carbono de baixo carbono:
I - o carbono é introduzido na superfície.
II - o teor superficial de carbono atinge valores muito maiores que 1% a uma profundidade determinada.
III- a têmpera se segue ao processo.
IV - a temperatura do tratamento deve ser tal que impeça a estrutura austenítica de absorver e dissolver carbono.
Assinale a opção correta.
Provas
O não desligamento automático de um compressor que passa à trabalhar em pressões muito baixas do fluido frigorígeno ocasiona
Provas
De acordo com o princípio de Archimedes, c empuxo em um corpo imerso em óleo é igual
Provas
Sobre a inspeção por líquido penetrante, é correto afirmar que
Provas
Dados:
PMS = ponto morto superior
PMI = ponto morto inferior
Em um motor de combustão interna, pode-se afirmar que cilindrada é
Provas
Utilizando como conjunto transmissor um par de polias, deseja-se obter 240 rpm na polia movida. A polia motora possui 18 cem de diâmetro e está acoplada a um motor que desenvolve 1200 rpm. Qual deverá ser o diâmetro (em cm) da polia movida para que o objetivo seja atingido?
Provas
Deseja-se montar com interferência uma bucha de bronze em um eixo de aço. Fazendo uso das propriedades físicas destes materiais, assinale a opção viável para esta montagem.
Provas
A resistência interna ao escoamento de um fluido em uma tubulação, resultante do atrito das próprias moléculas do fluido umas com as outras, é denominada
Provas
Caderno Container