Foram encontradas 967 questões.
A flexão de uma viga sujeita a um carregamento transversal é tal que a região acima da linha neutra fica sujeita a tensões de compressão, e a região abaixo da linha neutra fica sujeita a tensões de tração.
Dessa forma, o diagrama que mostra a distribuição dessas tensões normais no regime elástico atuantes na seção transversal da viga é
Dessa forma, o diagrama que mostra a distribuição dessas tensões normais no regime elástico atuantes na seção transversal da viga é
Provas
Questão presente nas seguintes provas

A Figura 2 acima foi obtida a partir da Figura 1, utilizando o AutoCAD (versão 2004 ou superior). A Figura 2 foi ge- rada aplicando-se, uma única vez, uma função com seus respectivos parâmetros.
A função utilizada para gerar a Figura 2 foi
Provas
Questão presente nas seguintes provas

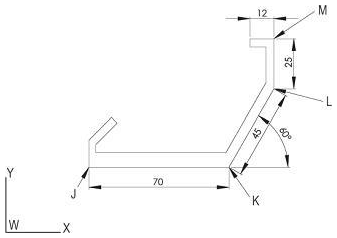
Usando o comando LINE, a sequência correta para desenhar o contorno JKLM é
Provas
Questão presente nas seguintes provas

Analisando-as, conclui-se que
Provas
Questão presente nas seguintes provas

Para garantir essas condições, desenhando-se com o AutoCAD, usa-se, respectivamente, os comandos
Provas
Questão presente nas seguintes provas

Provas
Questão presente nas seguintes provas

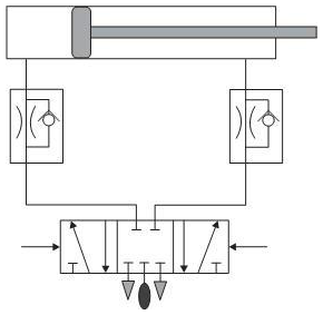
Os componentes 1, 2 e 3 da Figura acima, indicados na simbologia dessa unidade, são, respectivamente,
Provas
Questão presente nas seguintes provas

Esse controle é realizado com o ar que
Provas
Questão presente nas seguintes provas
As Figuras abaixo ilustram os diagramas p-v e T-s do ciclo padrão de ar Diesel. Tal ciclo é composto de processos internamente reversíveis e é o ciclo ideal para o motor de ignição por compressão.

No diagrama p-v, a área delimitada pelos pontos 1-2-a-b-1 corresponde ao
Provas
Questão presente nas seguintes provas
As Figuras abaixo ilustram os diagramas p-v e T-s do ciclo padrão de ar Diesel. Tal ciclo é composto de processos internamente reversíveis e é o ciclo ideal para o motor de ignição por compressão.

As propriedades constantes indicadas no gráfico, representadas por x1, x2, x3 e x4 correspondem, respectivamente, a
Provas
Questão presente nas seguintes provas
Cadernos
Caderno Container