Foram encontradas 50 questões.
Parâmetros como velocidade, avanço e profundidade de corte influenciam o resultado obtido nos processos de usinagem. Sobre a velocidade, o avanço e a profundidade de corte em um processo de torneamento, é INCORRETO afirmar que
Provas
A figura representa o corte de uma ferramenta no plano de trabalho (Pf), mostrando a direção de corte e de avanço. As setas indicam três ângulos: 1, 2 e 3.

Os ângulos 1, 2 e 3 são, respectivamente,
Provas
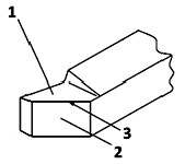
Os ângulos e superfícies de uma ferramenta de corte têm grande importância nos processos de usinagem, pois influenciam nas forças envolvidas e no acabamento. Observe a figura que representa uma ferramenta de corte.

A definição correta dos pontos indicados como 1, 2 e 3 são, respectivamente,
Provas
Cada processo de usinagem apresenta diferentes velocidades de corte e avanço, dependendo de suas características. Considere a figura que representa um processo de fresamento.

As definições das velocidades – V1, V2 e V3 – são, respectivamente,
Provas
Nos processos de fabricação por usinagem, existem diferentes tipos de movimento, que podem ou não causar a saída de cavaco diretamente. Sobre os movimentos que causam diretamente a saída de cavaco, marque V para as afirmativas verdadeiras e F para as falsas.
( ) Movimento de corte: movimento entre a peça e a ferramenta que, considerado isoladamente, gera uma única retirada de cavaco.
( ) Movimento de avanço: movimento entre a peça e a ferramenta que, considerado isoladamente, gera a retirada contínua de cavaco.
( ) Movimento efetivo: movimento resultante dos movimentos de corte e de avanço realizados ao mesmo tempo.
A sequência está correta em
Provas
Science and the olympics: technology's increasing role in the games
People used to rarely associate science with sports, but increased engineering research and investment in technology by professional sporting organizations have merged the two industries, especially in the 2012 London Olympics.
Scientists and engineers played a significant role in shaping the Great Britain Olympic team, according to BBC News. Though the partnership between sports and science has been a relatively new development, the impact of it can be seen across a number of different events.
Mobile technology, smartphones and tablet computers are found in droves at the London Olympics, as coaches, players and country officials can be seen using these devices to gauge and improve their performance.
According to the news outlet, the ease with which these devices can be integrated into sports has been surprising, but the results are hard to ignore.
(http://why.knovel.com/all-engineering-news/1752-science-and-the-olympics-technologys-increasing-role-in-the-games.html – Com adaptações.)
The conjunction highlighted in “Though the partnership between sports and science has been a relatively new development…” could be replaced, without change of meaning, by
Provas
Science and the olympics: technology's increasing role in the games
People used to rarely associate science with sports, but increased engineering research and investment in technology by professional sporting organizations have merged the two industries, especially in the 2012 London Olympics.
Scientists and engineers played a significant role in shaping the Great Britain Olympic team, according to BBC News. Though the partnership between sports and science has been a relatively new development, the impact of it can be seen across a number of different events.
Mobile technology, smartphones and tablet computers are found in droves at the London Olympics, as coaches, players and country officials can be seen using these devices to gauge and improve their performance.
According to the news outlet, the ease with which these devices can be integrated into sports has been surprising, but the results are hard to ignore.
(http://why.knovel.com/all-engineering-news/1752-science-and-the-olympics-technologys-increasing-role-in-the-games.html – Com adaptações.)
The passive voice in “Mobile technology, smartphones and tablet computers are found in droves at the London Olympics” in the active voice is
Provas
Science and the olympics: technology's increasing role in the games
People used to rarely associate science with sports, but increased engineering research and investment in technology by professional sporting organizations have merged the two industries, especially in the 2012 London Olympics.
Scientists and engineers played a significant role in shaping the Great Britain Olympic team, according to BBC News. Though the partnership between sports and science has been a relatively new development, the impact of it can be seen across a number of different events.
Mobile technology, smartphones and tablet computers are found in droves at the London Olympics, as coaches, players and country officials can be seen using these devices to gauge and improve their performance.
According to the news outlet, the ease with which these devices can be integrated into sports has been surprising, but the results are hard to ignore.
(http://why.knovel.com/all-engineering-news/1752-science-and-the-olympics-technologys-increasing-role-in-the-games.html – Com adaptações.)
The main idea of the first paragraph is that
Provas
Mechanical engineers develop an “intelligent co-pilot” for cars
Semiautonomous system takes the wheel to keep drivers safe.
Jennifer Chu, MIT News Office
July 13, 2012
Barrels and cones dot an open field in Saline, Mich., forming an obstacle course for a modified vehicle. A driver remotely steers the vehicle through the course from a nearby location as a researcher looks on. Occasionally, the researcher instructs the driver to keep the wheel straight – a trajectory that appears to put the vehicle on a collision course with a barrel. Despite the driver’s actions, the vehicle steers itself around the obstacle, transitioning control back to the driver once the danger has passed.
The key to the maneuver is a new semiautonomous safety system developed by Sterling Anderson, a PhD student in MIT’s Department of Mechanical Engineering, and Karl Lagnemma, a principal research scientist in MIT’s Robotic Mobility Group.
The system uses an onboard camera and laser rangefinder to identify hazards in a vehicle’s environment. The team devised an algorithm to analyze the data and identify safe zones – avoiding, for example, barrels in a field, or other cars on a roadway. The system allows a driver to control the vehicle, only taking the wheel when the driver is about to exit a safe zone.
Anderson, who has been testing the system in Michigan since last September, describes it as an “intelligent co-pilot” that monitors a driver’s performance and makes behind-the-scenes adjustments to keep the vehicle from colliding with obstacles, or within a safe region of the environment, such as a lane or open area.
“The real innovation is enabling the car to share (control) with you,” Anderson says. “If you want to drive, it’ll just… make sure you don’t hit anything.”
The group presented details of the safety system recently at the Intelligent Vehicles Symposium in Spain.
(http://web.mit.edu/newsoffice/2012/mechanical-engineers-develop-intelligent-car-co-pilot-0713.html – Com adaptações.)
Mark the alternative that presents the correct relation between the fragment and the brackets.
I. “Anderson, who has been testing the system in Michigan since last September, describes it as an ‘intelligent copilot’ that monitors a driver’s performance…” (Anderson)
II. “… the researcher instructs the driver to keep the wheel straight – a trajectory that appears to put the vehicle on a collision course with a barrel.” (trajectory)
III. “Anderson, who has been testing the system in Michigan since last September, describes it as an ‘intelligent copilot’ that monitors a driver’s performance” (co-pilot)
Provas
Mechanical engineers develop an “intelligent co-pilot” for cars
Semiautonomous system takes the wheel to keep drivers safe.
Jennifer Chu, MIT News Office
July 13, 2012
Barrels and cones dot an open field in Saline, Mich., forming an obstacle course for a modified vehicle. A driver remotely steers the vehicle through the course from a nearby location as a researcher looks on. Occasionally, the researcher instructs the driver to keep the wheel straight – a trajectory that appears to put the vehicle on a collision course with a barrel. Despite the driver’s actions, the vehicle steers itself around the obstacle, transitioning control back to the driver once the danger has passed.
The key to the maneuver is a new semiautonomous safety system developed by Sterling Anderson, a PhD student in MIT’s Department of Mechanical Engineering, and Karl Lagnemma, a principal research scientist in MIT’s Robotic Mobility Group.
The system uses an onboard camera and laser rangefinder to identify hazards in a vehicle’s environment. The team devised an algorithm to analyze the data and identify safe zones – avoiding, for example, barrels in a field, or other cars on a roadway. The system allows a driver to control the vehicle, only taking the wheel when the driver is about to exit a safe zone.
Anderson, who has been testing the system in Michigan since last September, describes it as an “intelligent co-pilot” that monitors a driver’s performance and makes behind-the-scenes adjustments to keep the vehicle from colliding with obstacles, or within a safe region of the environment, such as a lane or open area.
“The real innovation is enabling the car to share (control) with you,” Anderson says. “If you want to drive, it’ll just… make sure you don’t hit anything.”
The group presented details of the safety system recently at the Intelligent Vehicles Symposium in Spain.
(http://web.mit.edu/newsoffice/2012/mechanical-engineers-develop-intelligent-car-co-pilot-0713.html – Com adaptações.)
Each verb tense presents verb aspects which reveal what we want to express about the point in time the action takes place. The highlighted verb tense in “The system uses an onboard camera and laser rangefinder…” expresses
Provas
Caderno Container