Foram encontradas 2.410 questões.
A elevada sensibilidade de leitura e de indicação das balanças de precisão pode ser afetada por fontes potenciais de incerteza, que podem causar imprecisão nas medições efetuadas.
As causas potenciais de incerteza nas medições incluem o
empuxo sofrido pelo objeto submetido a pesagem.
Provas
A elevada sensibilidade de leitura e de indicação das balanças de precisão pode ser afetada por fontes potenciais de incerteza, que podem causar imprecisão nas medições efetuadas.
As causas potenciais de incerteza nas medições incluem o
desalinhamento de componentes mecânicos da balança devido à expansão ou contração térmica desses componentes.
Provas
Balanças romanas e dinamômetros de mola são instrumentos que permitem determinar tanto a massa quanto o peso de um corpo.
Considerando um dado corpo, julgue o item que se seguem.
O valor do peso determinado com a balança romana será o mesmo em qualquer lugar da Terra.
Provas
Balanças romanas e dinamômetros de mola são instrumentos que permitem determinar tanto a massa quanto o peso de um corpo.
Considerando um dado corpo, julgue o item que se seguem.
O valor da massa do corpo resultante da determinação feita com qualquer um dos dois instrumentos será o mesmo em qualquer lugar da Terra.
Provas

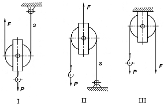
A figura acima mostra três configurações de polia móvel e uma de polia fixa para elevação da carga P. Considerando que F é o valor da força de tração aplicada ao cabo e S, a tração no cabo, julgue o item a seguir.
Nas configurações II e III, o valor da tração S no cabo é igual à força F.
Provas

A figura acima mostra três configurações de polia móvel e uma de polia fixa para elevação da carga P. Considerando que F é o valor da força de tração aplicada ao cabo e S, a tração no cabo, julgue o item a seguir.
Na configuração III, a força F é rigorosamente igual à carga P.
Provas

A figura acima mostra três configurações de polia móvel e uma de polia fixa para elevação da carga P. Considerando que F é o valor da força de tração aplicada ao cabo e S, a tração no cabo, julgue o item a seguir.
Na configuração II, a velocidade do ponto do cabo em que a força for aplicada é igual à velocidade de elevação da carga.
Provas

A figura acima mostra três configurações de polia móvel e uma de polia fixa para elevação da carga P. Considerando que F é o valor da força de tração aplicada ao cabo e S, a tração no cabo, julgue o item a seguir.
Na configuração I, a distância percorrida pelo ponto do cabo em que a força for aplicada é igual ao dobro da altura à qual a carga é elevada.
Provas
O ensaio de ultrassom é um dos métodos de ensaio não destrutivo mais largamente empregados para se detectar defeitos internos em componentes de máquinas.
Com relação aos ensaios de ultrassom, julgue o item subsequente.
Chama-se de zona morta a região próxima à superfície na qual não é possível detectar ecos durante o tempo de emissão do ultrassom.
Provas
O ensaio de ultrassom é um dos métodos de ensaio não destrutivo mais largamente empregados para se detectar defeitos internos em componentes de máquinas.
Com relação aos ensaios de ultrassom, julgue o item subsequente.
Na inspeção de cordões de solda, a irregularidade da superfície não permite o uso de transdutores (cabeçotes) normais. Nesse caso, deve-se usar transdutores angulares que enviem pulsos em determinados ângulos com a superfície do material.
Provas
Caderno Container