Foram encontradas 70 questões.
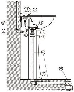
Os números (4), (5) e (9), da interpretação do corte hidráulico abaixo, significam, respectivamente:

Provas
Assinale a alternativa que apresenta uma das premissas do projeto de instalações hidráulicas de água fria:
Provas
Em relação aos pontos de iluminação e tomadas em cômodos de uma edificação residencial, considere:
I. Em cada cômodo deve ser previsto, pelo menos, um ponto de luz fixo no teto, comandado por interruptor.
II. Nas cozinhas deve ser previsto, no mínimo, um ponto de tomada para cada 3,5 m, ou fração, de perímetro, sendo que acima da bancada da pia deve ser prevista somente uma tomada de corrente.
III. Nas varandas, deve ser previsto, pelo menos, um ponto de tomada.
Está CORRETO o que consta em:
Provas
Um desenhista projetista, ao utilizar o Revit Architecture (Autodesk), quer imprimir documentos de construção. Para isso, ele poderá fazê-lo segundo alguns procedimentos, EXCETO um deles:
Provas
Considere as seguintes características da plataforma Revit Architecture (Autodesk) para Vistas de elevação da estrutura:
I. Vistas de elevação da estrutura são úteis para adicionar contraventamentos verticais no modelo, ou para qualquer tarefa que requer um lento desalinhamento de plano de trabalho com uma grade ou para um plano de referência não nomeado.
II. Quando se adiciona uma elevação de estrutura, o Revit Architecture define automaticamente o plano de trabalho e uma faixa da vista na grade selecionada ou plano de referência.
III. A região de recorte também é confinada à região entre as linhas de grade adjacentes que são perpendiculares à linha de grade selecionada.
É CORRETO o que consta em:
Provas
Os materiais de construção especificados em um projeto têm sua representação gráfica definida pelas normas da ABNT (NBR 6492). O desenho abaixo se refere ao (à):
![]()
Provas
Ao elaborar em planta a porta do desenho abaixo, o desenhista projetista atendeu às especificações do projeto que, nesse caso, definiu uma porta do tipo:

Provas
Um desenhista projetista, ao utilizar o AUTOCAD, quer habilitar o comando SNAP, que permite um deslocamento ajustável do cursor, dependendo ou não da marcação do Grid dele ligado ou desligado. Para isso, ele poderá fazê-lo acionando a tecla:
Provas
De acordo com a imagem a seguir:

De acordo com as convenções de desenho arquitetônico, a ordem correta dos nomes das vistas na imagem dada é:
Provas
Em projetos de modificação com acréscimo e reforma, colorimos as paredes que serão CONSTRUÍDAS na planta-baixa com a cor:
Provas
Caderno Container