Foram encontradas 468 questões.
Respondida
Relativo às madeiras empregadas na Construção Civil, é correto afirmar:
Respondida
Relativo aos materiais cerâmicos na Construção Civil, é correto afirmar:
A
A sílica livre, integrante da argila empregada na confecção de materiais cerâmicos, aumenta a retração durante os processos de sazonamento e queima, bem como reduz a plasticidade da argila.
B
Segundo às Normas Técnicas Brasileiras específicas aos blocos cerâmicos de vedação empregados na construção civil, os mesmos devem apresentar uma resistência à compressão mínima de 1,5MPa, independentemente de serem empregados com furos na horizontal ou vertical.
C
Quando da realização do ensaio de absorção de água inicial em blocos cerâmicos (AAI), resultados superiores a 30g/193,55cm² indicam elevada absorção, não sendo recomendado umedecer-se o componente antes de seu assentamento.
D
A alumina, integrante da argila empregada na confecção de materiais cerâmicos, propicia estabilidade dimensional em temperaturas elevadas.
E
Conforme as especificações das Normas Técnicas Brasileiras específicas às telhas cerâmicas empregadas na construção civil, as telhas cerâmicas possuem, assim como os blocos cerâmicos, limites de absorção de água máximos e mínimos.
Respondida
Relativo à normalização na Construção Civil, é correto afirmar:
Respondida
Na maioria dos programas de desenho por computador voltados para a arquitetura (AUTOCAD, por ex.), é possível estabelecer uma lista de ‘canetas’ com cores e espessuras diferentes.
Este recurso tem a função:
Respondida
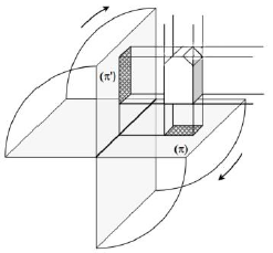
Assinale a alternativa que representa a épura do objeto descrito nas projeções ortogonais a seguir:
Respondida
Observe as perspectivas a seguir e responda.
Respondida
Segundo a NBR 9050:2015, nas rotas acessíveis quando houver bocel ou espelho inclinado:
Respondida
Nos sistemas de impermeabilização, identifique a alternativa que mais se aproxima da descrição da impermeabilização de um terraço exposto ao tempo, localizado na parte superior de um edifício de 15 (quinze) pavimentos.
A
Sistema de impermeabilização rígido, com adoção de manta asfáltica sobre regularização argamassada de base cimentícia, com rodapés embutidos, com proteção térmica para o pavimento inferior, sendo a manta aderida sobre emulsão asfáltica, com posterior aplicação de filme plástico, proteção mecânica com argamassa e assentamento final de revestimento.
B
Sistema de impermeabilização flexível, com adoção de manta asfáltica sobre regularização argamassada de base cimentícia, com rodapés embutidos, com proteção térmica para o pavimento inferior, sendo a manta aderida sobre emulsão asfáltica, com posterior aplicação de filme plástico, proteção mecânica com argamassa e assentamento final de revestimento.
C
Sistema de impermeabilização semi-flexível, com adoção de manta asfáltica sobre regularização argamassada de base cimentícia, com rodapés embutidos, com proteção térmica para o pavimento inferior, sendo a manta aderida sobre emulsão asfáltica, com posterior aplicação de filme plástico, proteção mecânica com argamassa e assentamento final de revestimento.
D
Sistema de impermeabilização flexível, com adoção de argamassa polimérica sobre regularização argamassada de base cimentícia, com rodapés embutidos, com proteção térmica para o pavimento inferior, proteção mecânica com argamassa e assentamento final de revestimento.
E
Sistema de impermeabilização rígido, com adoção de argamassa polimérica sobre regularização argamassada de base cimentícia, com rodapés embutidos, com proteção térmica para o pavimento inferior, proteção mecânica com argamassa e assentamento final de revestimento.
Respondida
Nas instalações hidrossanitárias dos edifícios, ao considerar os sistemas de água fria, a partir dos reservatórios de água potável, como são caracterizadas as tubulações flexíveis que podem eliminar conexões rígidas, diminuindo as perdas de cargas das redes internas, possibilitando uso mais intenso de “shafts” e passagens visitáveis nas instalações?
Respondida
As fachadas dos edifícios formadas por sistemas de vidros laminados simples ou duplos, em perfis de alumínio e perfis flexíveis, fixados na estrutura através de “inserts” metálicos, formando conjunto de revestimento considerado não aderido, podendo atuar como “fachada ventilada” ou “fachada cortina”, são denominadas: