Foram encontradas 560 questões.
As etapas no desenvolvimento de uma roupa, antes de ser encaminhada para a produção, são:
Provas
Aponte a alternativa que apresenta a diferença entre a sequência de montagem e a sequência operacional contida na ficha técnica de uma peça.
Provas
No registro da ficha técnica, a grade de tamanho é uma informação que não pode faltar. O que é uma grade de tamanho?
Provas
A ficha técnica define o produto a ser fabricado. É um documento que percorre vários setores de uma empresa e, por essa razão, possui informações importantes para o cumprimento das etapas da produção. Quais são os principais setores de uma empresa de confecção que utilizam as informações contidas na ficha técnica?
Provas
Existem quatro tipos básicos de layouts para instalações fabris. São eles: processo, produto, célula e posição fixa. O layout de produto é tipicamente reconhecido por:
Provas
Existem três tipos de cortes de tecidos que podem ser utilizados em uma confecção industrial. São eles: manual, mecanizado e eletrônico. Escolha a opção em que há apenas exemplos de cortes mecanizados.
Provas
As instalações de uma linha de produção, em sua grande maioria, possuem layouts compactos, capazes de produzir rapidamente e entregar os produtos em prazos cada vez mais reduzidos. Eles têm grande efeito estratégico sobre o desempenho das fábricas, tornando-as competitivas em um mercado globalizado. Partindo da necessidade de redução do tempo de fabricação e do aumento na eficiência da entrega, podemos afirmar que os layouts compactos possuem características próprias, EXCETO:
Provas
Com os resultados obtidos através das técnicas do Estudo de Tempo, coloca-se nas mãos da administração um instrumento que lhe permite realizar as operações, a fim de proporcionar uma melhoria nos métodos de trabalho, bem como determinar os padrões para a produção. Quando esses estudos se desenvolvem corretamente, os resultados são:
Provas
Os exercícios de controle de coordenação motora para operações de costura, geralmente, são feitos por meio de:
Provas
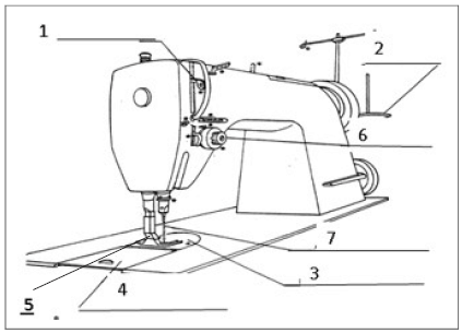
Preencha as lacunas de acordo com a figura abaixo.

Figura 1: Esboço de uma máquina de costura reta plana
( ) regulador da tensão da linha
( ) chapa móvel
( ) esticador de linha
( ) calcador
( ) agulha
( ) suporte de fios (linhas)
( ) chapa fixa
Marque a alternativa CORRETA.
Provas
Caderno Container