Magna Concursos

Foram encontradas 1.513 questões.

1530741 Ano: 2015
Disciplina: Engenharia Eletrônica
Banca: IF-SP
Orgão: IF-SP

Determine quais os valores do ganho proporcional K, para que o sistema a seguir seja estável:

Enunciado 3430825-1

 

Provas

Questão presente nas seguintes provas
1530740 Ano: 2015
Disciplina: Engenharia Eletrônica
Banca: IF-SP
Orgão: IF-SP

Faça uma leitura atenta das afirmações apresentadas abaixo sobre as principais características de um controle derivativo e marque verdadeiro (V) ou falso (F). Depois, assinale a opção que contenha a sequência exata a partir da primeira assertiva:

( ) A correção é proporcional à velocidade de desvio.

( ) Não atua caso o desvio seja constante.

( ) Quanto mais rápida a razão de mudança do desvio, menor será a correção.

 

Provas

Questão presente nas seguintes provas
1530739 Ano: 2015
Disciplina: Engenharia Eletrônica
Banca: IF-SP
Orgão: IF-SP

Sobre sistema de controle em malha fechada é incorreto afirmar que:

 

Provas

Questão presente nas seguintes provas
1530738 Ano: 2015
Disciplina: Engenharia Eletrônica
Banca: IF-SP
Orgão: IF-SP

Um robô de coordenadas cartesianas pode ser considerado:

 

Provas

Questão presente nas seguintes provas
1530737 Ano: 2015
Disciplina: Engenharia Eletrônica
Banca: IF-SP
Orgão: IF-SP

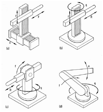
Os robôs industriais, possuem uma variedade de tamanhos, formas e configurações físicas. A maioria das configurações utilizadas atualmente são mostradas nas figuras abaixo. Identifique as configurações de cada figura, respectivamente:

Enunciado 3430817-1

 

Provas

Questão presente nas seguintes provas
1530736 Ano: 2015
Disciplina: Engenharia Eletrônica
Banca: IF-SP
Orgão: IF-SP

A precisão dos movimentos de um robô industrial depende de três fatores. A seguir temos suas definições, identifique-as em sequência.

[1] – Define-se como o menor incremento do movimento que pode executar o robô.

[2] – Refere-se à capacidade de um robô para situar o extremo de seu punho em um ponto marcado dentro do volume de trabalho.

[3] – Refere-se à capacidade do robô de regressar ao ponto que foi lhe programado às vezes que sejam necessárias.

 

Provas

Questão presente nas seguintes provas
1530735 Ano: 2015
Disciplina: Engenharia Eletrônica
Banca: IF-SP
Orgão: IF-SP

Um microcontrolador com arquitetura Risc, possui um clock de 20 MHz, e todas as instruções são executadas em 8 ciclos de clock. Se um dispositivo externo solicitar uma interrupção, serão necessários 3 instruções para atendê-lo. Quanto tempo será necessário para microcontrolador atender o dispositivo?

 

Provas

Questão presente nas seguintes provas
1530734 Ano: 2015
Disciplina: Engenharia Eletrônica
Banca: IF-SP
Orgão: IF-SP

Considere o trecho de programa em Assembley do microcontrolador PIC16F. Quais os valores armazenados nas variáveis VAR0 e VAR1, respectivamente?

Enunciado 3430814-1

 

Provas

Questão presente nas seguintes provas
1530733 Ano: 2015
Disciplina: Engenharia Eletrônica
Banca: IF-SP
Orgão: IF-SP

Na programação em Assembly do Microcontrolador 8051, o comando: MOV A, 12

 

Provas

Questão presente nas seguintes provas
1530732 Ano: 2015
Disciplina: Engenharia Eletrônica
Banca: IF-SP
Orgão: IF-SP

Ao observamos o fragmento de programa de um microcontrolador PIC em linguagem C, podemos determinar o valor que deve ser assumido pelas variáveis X e Y. Indique qual é esse valor:

Boolean x, y;

#use fixed_io (c_output = pin_c0, pin_c2);

output_high (pin_c0);

output_low (pin_c0);

x = input (pin_c0);

output_high (pin_c2);

output_low (pin_c2);

Y = input (pin_c2);

 

Provas

Questão presente nas seguintes provas